Operation CHARM: Car repair manuals for everyone.
Manuals through 2025 now available!

Our trusted friends have launched a new website named LEMON, which has newer manuals. It also contains all the CHARM manuals.

LEMON is the spiritual successor to CHARM, I recommend you try it!

Link: lemon-manuals.la or lemon-manuals.org.ua

(Some people have issue connecting. LEMON is investigating. For now, use Firefox or change your DNS server)

Or, hide this message: temporarily or permanently

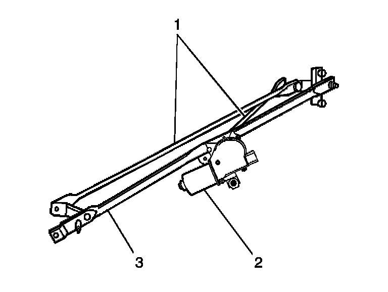
Wiper Gear Box: Service and Repair

WIPER TRANSMISSION REPLACEMENT

TOOLS REQUIRED
- J 39232 Wiper Transmission Separator
- J 39529 Wiper Transmission Installer

REMOVAL PROCEDURE




1. Remove the wiper arms.
2. Remove the air inlet grille panel.
3. Disconnect the electrical connector from the wiper motor.




4. Remove the 4 bolts retaining the wiper system drive module.




5. Remove the wiper system drive module (3) from the vehicle.




6. Disconnect the drive link from the wiper motor crank arm using the J 39232.




7. Remove the 4 bolts retaining the wiper transmission.
8. Remove the wiper transmission from the wiper drive system module.

INSTALLATION PROCEDURE

NOTE: Refer to Fastener Notice in Service Precautions.




1. Install the wiper transmission onto the wiper drive system module with the 4 bolts.

Tighten
Tighten the bolts to 7 N.m (62 lb in).




2. Connect the drive link onto the wiper motor crank arm using the J 39529.




3. Install the wiper drive system module on the vehicle.




4. Install the 4 bolts.

Tighten
Tighten the bolts to 8 N.m (71 lb in).




5. Connect the electrical connector to the wiper motor.
6. Install the air inlet grille panel.
7. Install the wiper arms.
8. Operate the wipers and inspect for proper operation.