Operation CHARM: Car repair manuals for everyone.
Manuals through 2025 now available!

Our trusted friends have launched a new website named LEMON, which has newer manuals. It also contains all the CHARM manuals.

LEMON is the spiritual successor to CHARM, I recommend you try it!

Link: lemon-manuals.la or lemon-manuals.org.ua

(Some people have issue connecting. LEMON is investigating. For now, use Firefox or change your DNS server)

Or, hide this message: temporarily or permanently

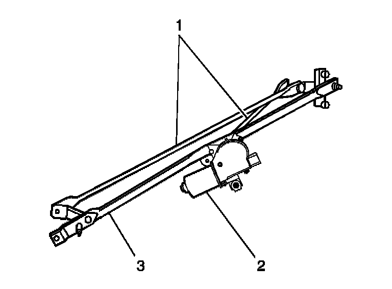
Wiper Motor Module Replacement

WIPER MOTOR MODULE REPLACEMENT

REMOVAL PROCEDURE




1. Remove the wiper motor fuse. The wiper motor fuse is located in the instrument panel electrical center.
2. Remove the wiper arm assemblies.
3. Remove the air inlet grille (1,2).




4. Remove the wiper motor module mounting bolts.
5. Disconnect the wiper motor electrical connector.
6. Remove the wiper motor module from the vehicle.

INSTALLATION PROCEDURE




1. Place the wiper motor module (3) into the vehicle.
2. Connect the wiper motor module electrical connector.
3. Align the wiper motor module studs to the cowl vent.

NOTE: Refer to Fastener Notice in Service Precautions.

4. Install the nuts.

Tighten
Tighten the nuts to 10 N.m (89 lb in).




5. Install the air inlet grille (1,2).
6. Install the wiper arm assemblies.
7. Install the wiper motor fuse.