Operation CHARM: Car repair manuals for everyone.
Manuals through 2025 now available!

Our trusted friends have launched a new website named LEMON, which has newer manuals. It also contains all the CHARM manuals.

LEMON is the spiritual successor to CHARM, I recommend you try it!

Link: lemon-manuals.la or lemon-manuals.org.ua

(Some people have issue connecting. LEMON is investigating. For now, use Firefox or change your DNS server)

Or, hide this message: temporarily or permanently

Valve Spring: Service and Repair

Valve Stem Oil Seal and Valve Spring Replacement

- Tools Required
- J 22794 Spark Plug Port Adapter
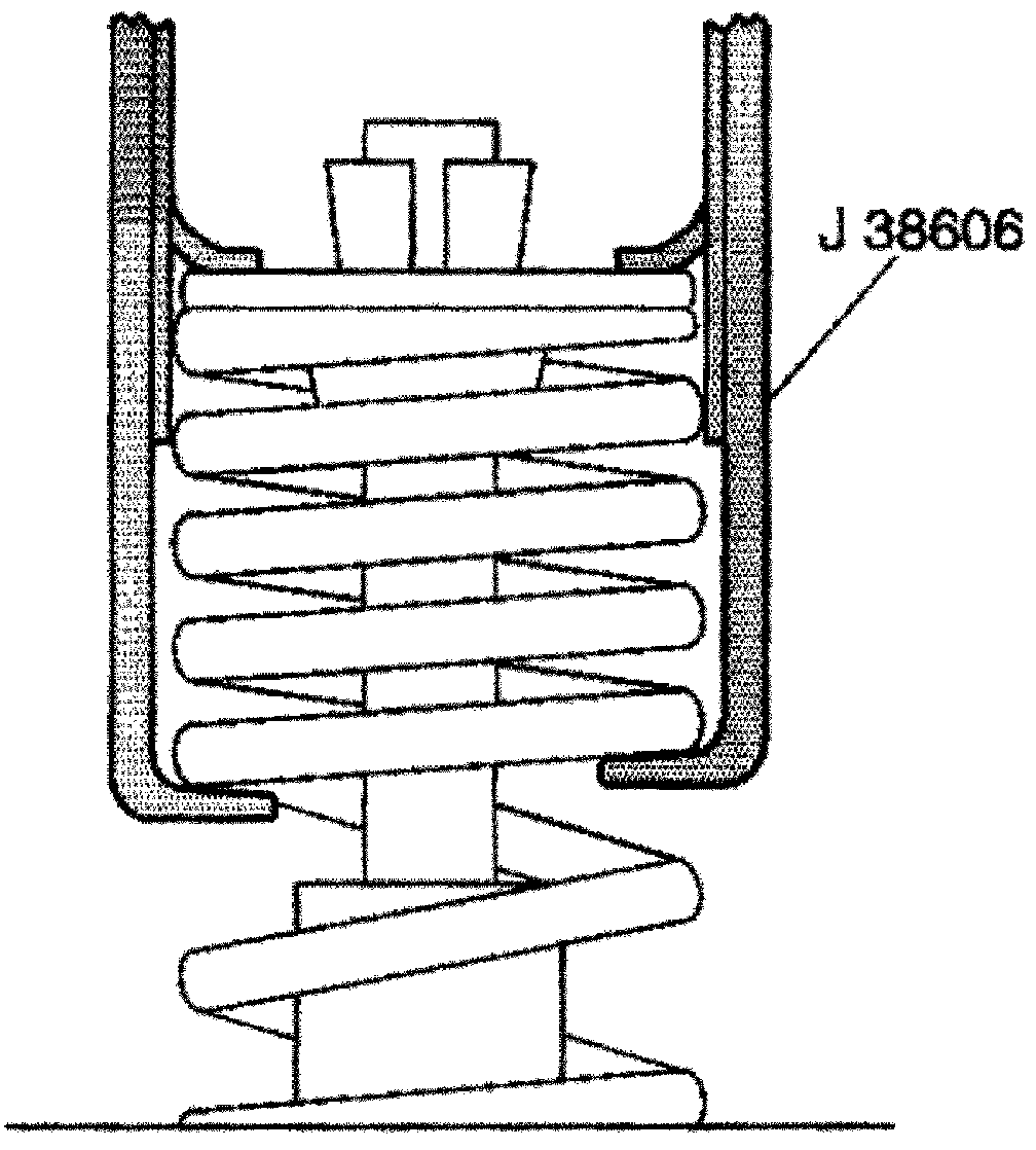
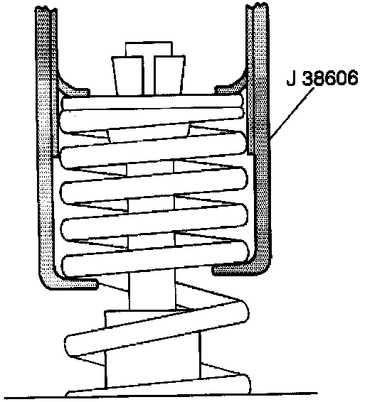
- J 38606 Valve Spring Compressor

Removal Procedure





Important:
- Before you remove the valve locks, rotate the engine so that the piston in the cylinder you are working on is at top dead center (TDC). This will eliminate the possibility of the valve accidentally falling inside the cylinder.
- Break the spark plug loose, and clean any dirt and debris from the spark plug recess area before removing.

1. Remove the spark plug.
2. Remove the rocker arm.
3. Install the J 22794 into the spark plug port. Apply compressed air in order to hold the valves in place.
4. Install the J 38606 on the valve spring.





5. Compress the valve spring with the J 38606.





6. Remove the valve locks.
7. Remove the valve cap.
8. Remove the valve spring.
9. Inspect the valve spring for damage.
10. Remove the valve stem oil seal.

Installation Procedure





1. Install the valve stem oil seal.
2. Install the valve spring.
3. Install the valve cap.





4. Compress the valve spring with the J 38606.
5. Install the valve locks. If necessary, hold the valve locks in place with grease.





6. Release the valve spring using the J 38606.
7. Ensure the valve locks are seated.
8. Release the air pressure and remove the J 22794 from the spark plug port.
9. Install the valve rocker arm.
10. Install the spark plug.