Operation CHARM: Car repair manuals for everyone.
Manuals through 2025 now available!

Our trusted friends have launched a new website named LEMON, which has newer manuals. It also contains all the CHARM manuals.

LEMON is the spiritual successor to CHARM, I recommend you try it!

Link: lemon-manuals.la or lemon-manuals.org.ua

(Some people have issue connecting. LEMON is investigating. For now, use Firefox or change your DNS server)

Or, hide this message: temporarily or permanently

Front Wheel Alignment

Front Camber Adjustment

Removal Procedure





1. Raise the vehicle and provide suitable support. Refer to Vehicle Lifting.
2. Remove the tire and wheel assemblies from the front and the rear axles.
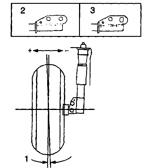
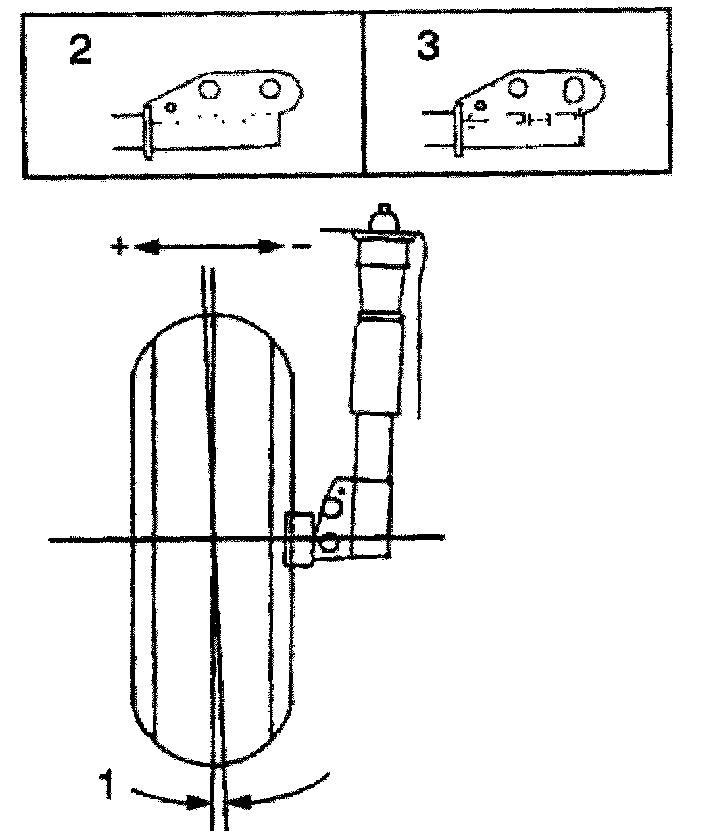
3. Remove the strut from the vehicle.
4. Place the strut in a vise and file the hole lateral -oblong. Compare the appearance of the holes before filing (2) with after filing (3).
5. File the lower strut-to-knuckle attaching hole for a front camber adjustment.

Installation Procedure

Notice: Refer to Fastener Notice in Service Precautions.





1. Install the strut to the vehicle.
^ Tighten the strut-to-knuckle nuts as far as to allow movement of the knuckle.
2. Install the tire and wheel assemblies.
3. Adjust the camber (1).
^ Tighten the strut-to-knuckle nuts to 120 Nm (89 ft. lbs.).
4. Lower the vehicle.

Front Toe Adjustment





1. Remove the small seal clamp from the inner tie rod boot.
2. Position the steering wheel in the straight ahead position.
3. Loosen the hex nut on the tie rod (2). Turn the tie rod shaft (1) in order to obtain the proper toe angle.
4. Confirm the number of threads showing on each tie rod end is nearly equal.

Notice: Refer to Fastener Notice in Service Precautions.

5. Confirm that the tie rod ends (3) are square before you tighten the lock nuts (2).
^ Tighten the hex nuts at the tie rod ends to 68 Nm (50 ft. lbs.).

Important: Ensure the seals do not twist.

6. Install the seal clamps.