Operation CHARM: Car repair manuals for everyone.
Manuals through 2025 now available!

Our trusted friends have launched a new website named LEMON, which has newer manuals. It also contains all the CHARM manuals.

LEMON is the spiritual successor to CHARM, I recommend you try it!

Link: lemon-manuals.la or lemon-manuals.org.ua

(Some people have issue connecting. LEMON is investigating. For now, use Firefox or change your DNS server)

Or, hide this message: temporarily or permanently

Air Cleaner Housing: Service and Repair

AIR CLEANER ASSEMBLY REPLACEMENT

REMOVAL PROCEDURE




1. Remove the left inner fender brace.
2. Remove the air intake duct.
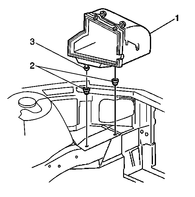
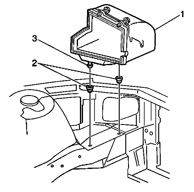
3. Remove the 2 screws (2) from the 2 air cleaner housing sections.
4. Remove the air cleaner housing cover assembly (1).
5. Without disconnecting the PCM connectors, remove the PCM (4) and harness from the air cleaner housing (3).




6. Remove the air cleaner housing (1) by pulling the housing from the 2 rubber grommets in the engine compartment. Inspect the assembly for signs of damage and replace if required.

INSTALLATION PROCEDURE




1. Install the air cleaner housing by pushing the housing into the 2 rubber grommets (2) in the engine compartment.
2. Install the PCM (4) and the harness into the air cleaner housing (1).




3. Install the air cleaner housing cover assembly (1).

NOTE: Refer to Fastener Notice in Service Precautions.

4. Install the 2 screws (2) into the 2 air cleaner housing sections.

Tighten
Tighten the screws to 4 N.m (35 lb in).

5. Install the air cleaner intake duct.
6. Install the left inner fender brace.