Operation CHARM: Car repair manuals for everyone.
Manuals through 2025 now available!

Our trusted friends have launched a new website named LEMON, which has newer manuals. It also contains all the CHARM manuals.

LEMON is the spiritual successor to CHARM, I recommend you try it!

Link: lemon-manuals.la or lemon-manuals.org.ua

(Some people have issue connecting. LEMON is investigating. For now, use Firefox or change your DNS server)

Or, hide this message: temporarily or permanently

Suction Screen Replacement

SUCTION SCREEN REPLACEMENT

TOOLS REQUIRED
- J 42220 Universal Leak Detection Lamp
- J 44551 Suction Screen Kit

REMOVAL PROCEDURE




1. Recover the refrigerant from the A/C system. Refer to Refrigerant Recovery and Recharging.
2. Remove the A/C compressor hose assembly bolt.
3. Separate the A/C compressor hose assembly from the A/C compressor.

IMPORTANT: The suction screens are available in 3 different sizes.

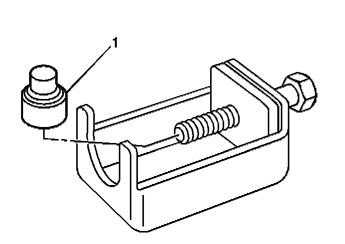
4. Select the proper size removal tool (1) from the J 44551.
5. Remove the suction screen using the J 44551-31 Suction Screen Removal Tool.
- Thread the forcing screw into the suction screen.
- Tighten the nut on the forcing screw to remove the suction screen.

INSTALLATION PROCEDURE




1. Insert the J 44551-6 Sizing Tool (1) into the suction hose to select the correct size suction screen.




2. Insert the suction screen into the suction hose.
3. Install the J 44551-3 Mandrel (1) to the J 44551-5 Screen Installation Tool.




4. Install the J 44551-5 (3) over the end of the suction hose and the suction screen (2).

IMPORTANT: Correct placement of the J 44551-5 is critical.

5. Tighten the forcing screw of the J 44551-5.
The suction screen is fully installed when the screen is flush with the end of the suction hose.
6. Remove the J 44551-5 from the suction hose.
7. Replace the seal washers.
8. Install the A/C compressor hose assembly to the A/C compressor.

NOTE: Refer to Fastener Notice in Service Precautions.

9. Install the A/C compressor hose assembly bolt.

Tighten
Tighten the bolt to 20 N.m (15 lb ft).

10. Evacuate and recharge the A/C system. Refer to Refrigerant Recovery and Recharging.
11. Leak test the fittings of the component using the J 42220.