Operation CHARM: Car repair manuals for everyone.
Manuals through 2025 now available!

Our trusted friends have launched a new website named LEMON, which has newer manuals. It also contains all the CHARM manuals.

LEMON is the spiritual successor to CHARM, I recommend you try it!

Link: lemon-manuals.la or lemon-manuals.org.ua

(Some people have issue connecting. LEMON is investigating. For now, use Firefox or change your DNS server)

Or, hide this message: temporarily or permanently

Rear Wheel Alignment

Rear Camber Adjustment

Removal Procedure





1. Raise the vehicle and provide suitable support. Refer to Vehicle Lifting.
2. Remove the tire and wheel assemblies.
3. Remove the strut from the vehicle.
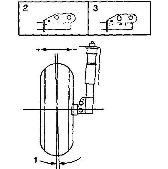
4. Place the strut in a vise and file the upper strut-to-knuckle hole lateral - oblong. Compare the appearance of the holes before filing (2) with l after filing (3).

Installation Procedure

Notice: Refer to Fastener Notice in Service Precautions.





1. Install the strut to the vehicle.
^ Tighten the strut-to-knuckle bolts as far as to allow movement of the knuckle.
2. Install the tire and wheel assemblies.
3. Adjust the camber (1).
^ Tighten the strut-to-knuckle bolts to 122 Nm (90 ft. lbs.).
4. Lower the vehicle.

Rear Toe Adjustment





1. Loosen the hex nuts at the rear wheel spindle rod - rear.





2. Turn the adjusting nut to change the toe angle.
3. Adjust the toe to the proper setting.





Notice: Refer to Fastener Notice in Service Precautions.

4. Tighten the hex nuts on the rear wheel spindle rod - rear.
^ Tighten the rear wheel spindle rod ends hex nuts to 50 Nm (37 ft. lbs.).