Operation CHARM: Car repair manuals for everyone.
Manuals through 2025 now available!

Our trusted friends have launched a new website named LEMON, which has newer manuals. It also contains all the CHARM manuals.

LEMON is the spiritual successor to CHARM, I recommend you try it!

Link: lemon-manuals.la or lemon-manuals.org.ua

(Some people have issue connecting. LEMON is investigating. For now, use Firefox or change your DNS server)

Or, hide this message: temporarily or permanently

62. Engine Block Plug Installation

Engine Block Plug Installation

^ Tools Required
- J 41712 Oil Pressure Switch Socket or equivalent

Important:
^ Engine block plug, oil gallery and coolant, sealing washers may be used again if not bent, scored or otherwise damaged.
^ Apply the proper amount and type of sealant to the sealing washer as recommended in the service procedure.





1. Apply a 3.175 mm (0.125 inch) bead of sealant GM P/N 12346004 (Canadian P/N 10953480) to the engine block coolant heater sealing washer, if applicable.

Notice: Refer to Fastener Notice in Service Precautions.

2. Install the engine block coolant heater to the engine block, if applicable.
^ Tighten the block coolant heater to 40 Nm (30 ft. lbs.).





3. Apply a 3.175 mm (0.125 inch) bead of sealant GM P/N 12346004 (Canadian P/N 10953480) to the engine block left front coolant drain plug sealing washer, if applicable.
4. Install the engine block left front coolant drain plug, if applicable.
^ Tighten the block left front coolant drain plug to 60 Nm (44 ft. lbs.).





5. Apply a 3.175 mm (0.125 inch) bead of sealant GM P/N 12346004 (Canadian P/N 10953480) to the engine block right rear coolant drain plug sealing washer.
6. Install the engine block right rear coolant drain plug.
^ Tighten the block right rear coolant drain plug to 60 Nm (44 ft. lbs.).





7. Apply a 3.175 mm (0.125 inch) bead of sealant GM P/N 12346004 (Canadian P/N 10953480) to the engine block left front oil gallery plug sealing washer.
8. Install the engine block left front oil gallery plug.
^ Tighten the block left front oil gallery plug to 60 Nm (44 ft. lbs.).





9. Apply a 3.175 mm (0.125 inch) bead of sealant GM P/N 12346004 (Canadian P/N 10953480) to the engine block left rear oil gallery plug sealing washer.
10. Install the engine block left rear oil gallery Plug.
^ Tighten the block left rear oil gallery plug to 60 Nm (44 ft. lbs.).





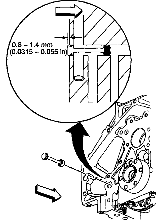
11. Inspect the engine block rear oil gallery plug and O-ring seal. If the O-ring seal on the plug is not cut or damaged, the rear oil gallery plug may be used again.
12. Lubricate the O-ring seal with clean engine oil.
13. Install the block rear oil gallery plug into the oil gallery bore. A properly installed block plug will protrude 0.8 - 1.4 mm (0.0315 - 0.055 inch) beyond the rear face of the block.





Important: The engine block front oil gallery plug should not be removed unless service is required.

14. Apply threadlock GM P/N 12345382 (Canadian P/N 10953489) to the sides of the NEW front oil gallery plug.
15. Install a NEW engine block front oil gallery plug, if required. Install the front oil gallery plug into the oil gallery bore 2.2 - 2.8 mm (0.0086 - 0.011 inch) below flush.





16. Apply sealant to the threads of the oil pressure sensor.
17. Use the J 41712 or equivalent in order to install the oil pressure sensor.
^ Tighten the oil pressure sensor to 20 Nm (15 ft. lbs.).