Operation CHARM: Car repair manuals for everyone.
Manuals through 2025 now available!

Our trusted friends have launched a new website named LEMON, which has newer manuals. It also contains all the CHARM manuals.

LEMON is the spiritual successor to CHARM, I recommend you try it!

Link: lemon-manuals.la or lemon-manuals.org.ua

(Some people have issue connecting. LEMON is investigating. For now, use Firefox or change your DNS server)

Or, hide this message: temporarily or permanently

Condenser HVAC: Service and Repair

CONDENSER REPLACEMENT

TOOLS REQUIRED
J 39400-A Halogen Leak Detector

REMOVAL PROCEDURE

IMPORTANT: The condenser and receiver dehydrator are integrated and cannot be serviced separately.

1. Recover the refrigerant from the A/C system. Refer to Refrigerant Recovery and Recharging.
2. Remove the upper radiator support.




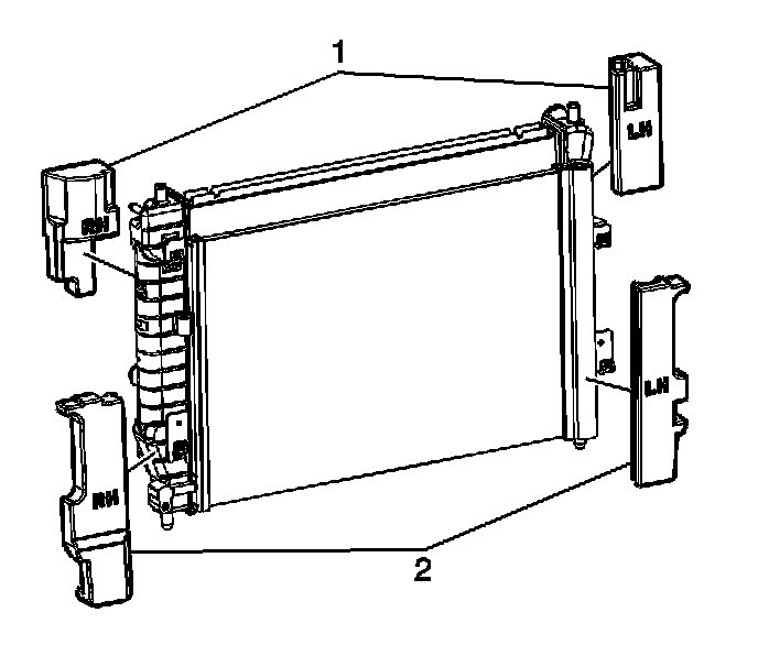
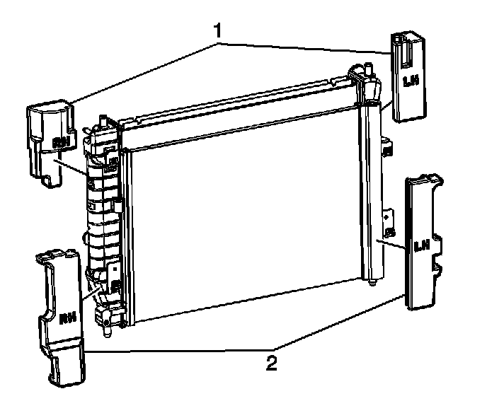
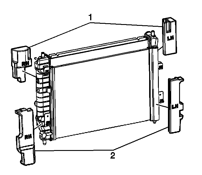
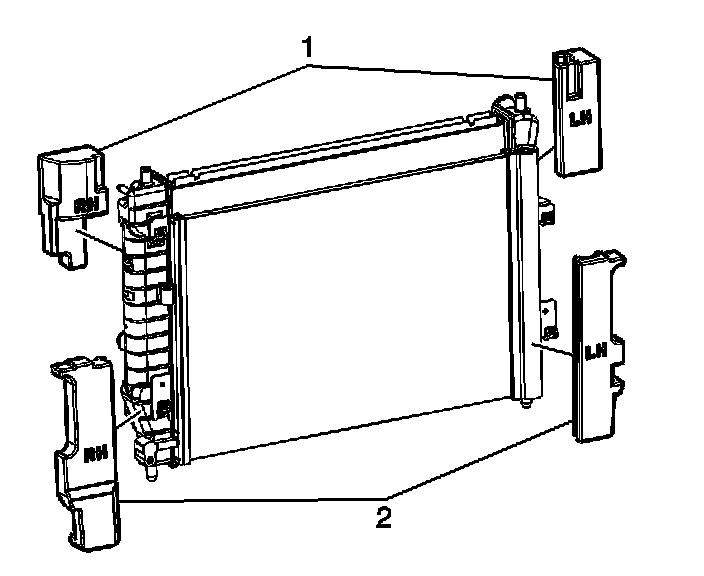
3. Remove the upper radiator seals (1).




4. Remove the A/C compressor hose assembly to A/C condenser fitting bolt (1).

IMPORTANT: Cap or tape the open A/C components immediately to prevent system contamination.

5. Disconnect the A/C compressor hose assembly from the A/C condenser fitting.
6. Remove and discard the seal washer.
7. Cap or tape the A/C compressor hose assembly.
8. Raise and support the vehicle. Refer to Vehicle Lifting.




9. Remove the bolt from the liquid line at the A/C condenser (1).
10. Disconnect the liquid line (2) from the A/C condenser (3).
11. Remove and discard the seal washer.
12. Cap or tape the front evaporator inlet line.




13. Remove the lower radiator seals (2).
14. Lower the vehicle.




15. Raise the A/C condenser along the radiator to release the A/C condenser tabs from the radiator slots.
16. Remove the A/C condenser from the vehicle.

INSTALLATION PROCEDURE
1. If replacing the condenser, add the specified amount of PAG oil directly to the condenser. Refer to Refrigerant System Capacities.




2. Position the A/C condenser into the vehicle.
3. Lower the A/C condenser to secure the A/C condenser tabs into the radiator slots.
4. Raise and support the vehicle. Refer to Vehicle Lifting.




5. Install the lower radiator seals (2).
6. Remove the cap or tape from the front evaporator inlet line.
7. Install a new seal washer onto the liquid line.




8. Connect the liquid line to the A/C condenser.

NOTE: Refer to Fastener Notice in Service Precautions.

9. Install the front evaporator inlet line bolt.

Tighten
Tighten the bolt to 16 N.m (12 lb ft).

10. Lower the vehicle.
11. Remove the cap or tape from the A/C compressor hose assembly.




12. Install a new seal washer to the A/C compressor hose assembly.
13. Connect the A/C compressor hose assembly to the A/C condenser.
14. Install the A/C compressor hose assembly to A/C condenser bolt (1).

Tighten
Tighten the bolt to 16 N.m (12 lb ft).

15. Evacuate and recharge the A/C system. Refer to Refrigerant Recovery and Recharging.
16. Leak test the fittings of the component using J 39400-A.




17. Install the upper radiator seals (1).
18. Install the upper radiator support.