Operation CHARM: Car repair manuals for everyone.
Manuals through 2025 now available!

Our trusted friends have launched a new website named LEMON, which has newer manuals. It also contains all the CHARM manuals.

LEMON is the spiritual successor to CHARM, I recommend you try it!

Link: lemon-manuals.la or lemon-manuals.org.ua

(Some people have issue connecting. LEMON is investigating. For now, use Firefox or change your DNS server)

Or, hide this message: temporarily or permanently

Deployment Outside Vehicle - Steering Wheel Module, I/P Module, And Side Impact Module

DEPLOYMENT OUTSIDE VEHICLE-STEERING WHEEL MODULE, I/P MODULE, AND SIDE IMPACT MODULE

TOOLS REQUIRED
- J 38826 SIR Deployment Harness
- J 39401-B SIR Deployment Fixture
- An appropriate pigtail adaptor

CAUTION: Refer to SIR Inflator Module Disposal Caution in Service Precautions.

1. Deployment and disposal of a malfunctioning inflator module is not subject to any required retention period. Deploy the inflator module outside of the vehicle when the vehicle will be returned to service. Situations that require deployment outside of the vehicle include the following situations:
- Using the SIR diagnostics, you determine that the inflator module is malfunctioning.
- The inflator module is cosmetically damaged, i.e., scratched or ripped.
- The inflator module pigtail, if equipped, is damaged.
- The inflator module connector is damaged.
- The inflator module connector terminals are damaged.

CAUTION: Refer to SIR Inflator Module Handling and Storage Caution in Service Precautions.

2. Before you begin to remove the inflator module, turn OFF the ignition.
3. Remove the ignition key.
4. Put on safety glasses.
5. Remove the inflator module.
- If you are removing the steering wheel module, refer to Inflatable Restraint Steering Wheel Module Replacement.
- If you are removing the I/P module, refer to Inflatable Restraint Instrument Panel Module Replacement.
- If you are removing the side impact module-left, refer to Inflatable Restraint Side Impact Module Replacement - Front.




6. Place the inflator module with the vinyl trim cover facing up and away from the surface on a work bench, floor or deployment fixture.




7. Clear a space on the ground about 1.85 m (6 ft) in diameter for deployment of the inflator module. If possible, use a paved, outdoor location free of activity. Otherwise, use a space free of activity on the shop floor. Make sure you have sufficient ventilation.

IMPORTANT: Dual stage deployments are only used in the steering wheel and I/P inflator modules, if the vehicle is equipped. If stage 1 was used to deploy a dual stage inflator module, stage 2 may still be active. If disposal of a deployed or undeployed dual stage module is required, both deployment loops must be energized to deploy the inflator module.

8. Make sure that loose or flammable objects are not in the area.
9. If you are deploying a steering wheel module, place the steering wheel module in the center of the space.




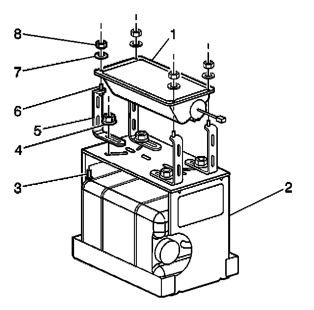
10. When deploying an IP module, refer to the following instructions:
- Place the J 39401-B SIR deployment fixture (2) in the center of the cleared area.
- Fill the deployment fixture with water or sand.
- Mount the IP module (1) in the deployment fixture (2) with the vinyl/plastic trim facing up.
- To mount, use 4 m 6 bolts (6), nuts (8), and washers (7) in order to properly secure the IP module (1) to the deployment fixture.
- Securely tighten all fasteners prior to deployment.




11. When deploying the side impact module-left, refer to the following instructions:
- Place the J 39401-B SIR deployment fixture (3) in the center of the cleared area.
- Fill the deployment fixture with water or sand.
- Mount the side impact module-left (1) in the deployment fixture (3) with the vinyl/plastic trim cover facing up.
- Adjust and secure the J 39401-B arms (4) to the deployment fixture (3).
- To mount, use 2 m 6 x 1.0 nuts (2) with washers in order to secure the side impact module-left (1) to the deployment fixture arms (4).
- Securely tighten all fasteners prior to deployment.




12. Inspect the J 38826 SIR deployment harness (1) and the appropriate pigtail adapter (2) for damage. Replace as needed.
13. Short the 2 SIR deployment harness (1) leads together using one banana plug seated into the other.
14. Connect the appropriate pigtail adapter (2) to the SIR deployment harness (1).




15. Extend the SIR deployment harness and adapter to full length from the deployment fixture.

IMPORTANT: On a dual stage inflator module, both connectors must be attached to the deployment harness adapter. This will ensure that both stage 1 and stage 2 of the deployment loops are energized, regardless of the deployment state.




16. Connect the inflator module (1) to the adapter (2) on the SIR deployment harness (3).

IMPORTANT:
- The rapid expansion of gas involved with deploying an inflator module is very loud. Notify all the people in the immediate area that you intend to deploy the inflator module.
- When the inflator module deploys, the deployment fixture may jump about 30 cm (1 ft) vertically. This is a normal reaction of the inflator module due to the force of the rapid expansion of gas inside the inflator module.

17. Place a 12 V minimum or a 2 A minimum power source, i.e., vehicle battery, near the shorted end of the harness.

IMPORTANT: If you are deploying a dual stage inflator module with stage 1 already deployed, the fixture may not move and the noise may have been reduced.

18. Clear the area of people.




19. Separate the 2 banana plugs on the SIR deployment harness.




20. Connect the SIR deployment harness wires to the power source. Inflator module deployment will occur when contact is made.




21. Disconnect the SIR deployment harness from the power source after the inflator module deploys.

CAUTION: Refer to SIR Deployed Inflator Modules Are Hot Caution in Service Precautions.

22. If the inflator module did not deploy, disconnect the adapter and discontinue the procedure. Contact the Technical Assistance Group. Otherwise, proceed to the following steps:




23. Seat one banana plug into the other in order to short the deployment harness leads.
23.1. Put on a pair of shop gloves.
23.2. Disconnect the pigtail adapter from the inflator module as soon as possible.
23.3. Inspect the pigtail adaptor and the SIR deployment harness. Replace as needed.
23.4. Dispose of the deployed inflator module through normal refuse channels.
23.5. Wash hands with a mild soap.