Operation CHARM: Car repair manuals for everyone.
Manuals through 2025 now available!

Our trusted friends have launched a new website named LEMON, which has newer manuals. It also contains all the CHARM manuals.

LEMON is the spiritual successor to CHARM, I recommend you try it!

Link: lemon-manuals.la or lemon-manuals.org.ua

(Some people have issue connecting. LEMON is investigating. For now, use Firefox or change your DNS server)

Or, hide this message: temporarily or permanently

Battery Positive Cable Replacement (Junction Block to Engine)

BATTERY POSITIVE CABLE REPLACEMENT (JUNCTION BLOCK TO ENGINE)

REMOVAL PROCEDURE
1. Raise the vehicle. Refer to Vehicle Lifting.
2. Remove the rear battery cover bolts and cover.
3. Disconnect negative battery cable.
4. Lower the vehicle.
5. Open the hood.




6. Remove the nut retaining the positive battery cable at the junction box.




7. Remove the bolt retaining positive cable to electrical center.




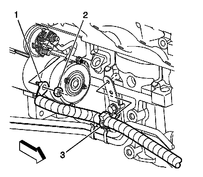
8. Remove the positive cable from rear of generator.
9. Raise the vehicle.




10. Remove the nut retaining positive cable to starter.
11. Remove the positive cable assembly from wire looms.
12. Remove the positive cable assembly from vehicle from the bottom of the vehicle.

INSTALLATION PROCEDURE
1. Install the positive cable assembly into vehicle from the bottom of vehicle.
2. Install the positive cable assembly to wire looms.

NOTE: Refer to Fastener Notice in Service Precautions.




3. Install the nut to retain positive cable to starter.

Tighten
Tighten the nut to 9 N.m (80 lb in).

4. Lower the vehicle.




5. Install the positive cable to rear of generator.

Tighten
Tighten the nut to 9 N.m (80 lb in).




6. Connect the bolt retaining positive cable to electrical center.

Tighten
Tighten the nut to 9 N.m (80 lb in).




7. Install the positive cable and nut in the junction box.

Tighten
Tighten the nut to 6 N.m (53 lb in).

8. Close the hood.
9. Raise the vehicle.
10. Connect the negative battery cable.
11. Install the rear battery cover and nuts.

Tighten
Tighten the nuts to 10 N.m (89 lb in).

12. Lower the vehicle.