Operation CHARM: Car repair manuals for everyone.
Manuals through 2025 now available!

Our trusted friends have launched a new website named LEMON, which has newer manuals. It also contains all the CHARM manuals.

LEMON is the spiritual successor to CHARM, I recommend you try it!

Link: lemon-manuals.la or lemon-manuals.org.ua

(Some people have issue connecting. LEMON is investigating. For now, use Firefox or change your DNS server)

Or, hide this message: temporarily or permanently

Evaporator Core: Service and Repair

EVAPORATOR CORE REPLACEMENT

REMOVAL PROCEDURE
1. Discharge and recover the refrigerant. Refer to Refrigerant Recovery and Recharging.
2. Disable the SIR. Refer to SIR Disabling and Enabling Zones in Restraint Systems.

CAUTION: Refer to SIR Caution in Service Precautions.

3. Disconnect the negative battery cable.

CAUTION: Refer to Battery Disconnect Caution in Service Precautions.

4. Remove the instrument panel carrier.




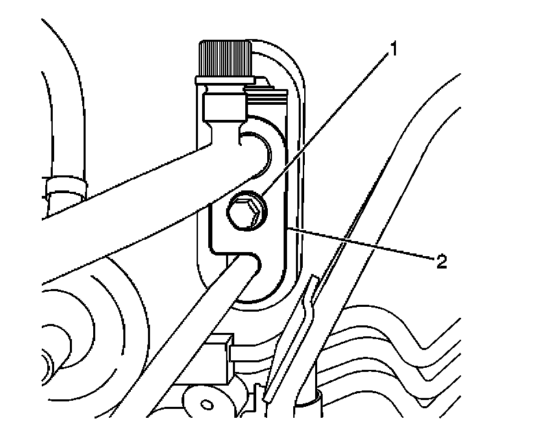
5. Remove the bolt (1) and slide the plate (2) counterclockwise in order to remove the evaporator inlet and outlet tubes at the bulkhead.
6. Cap the open refrigerant lines in order to prevent dirt and moisture from entering the refrigeration system.
7. Disconnect the evaporator temperature sensor electrical connector from the compressor control module.
8. Remove the 6 screws and 2 nuts (1).




9. Remove the evaporator case from the vehicle.
10. Remove the 5 screws and the insulation from the evaporator case.




11. Separate the evaporator case halves (4).
12. Remove the evaporator from the lower case.
13. Remove the expansion valve (1) from the evaporator by removing the 2 bolts.
14. Remove the evaporator temperature sensor (3) from the evaporator.

INSTALLATION PROCEDURE




1. Install the evaporator to the lower case.
2. Install the evaporator temperature sensor (3) to the evaporator.
3. Install the expansion valve (1) to the evaporator. Secure with the 2 bolts.
4. Connect the evaporator case halves (4). Secure the case halves with the 5 screws.




5. Install the evaporator case to the vehicle.
6. Install the 5 screws and 2 nuts (1).

NOTE: Refer to Fastener Notice in Service Precautions.


Tighten
Tighten the screws and nuts to 10 N.m (89 lb in).

7. Connect the evaporator temperature sensor electrical connector to the compressor control module.




8. Install new O-rings to the evaporator pipe fittings. Coat the new O-rings with mineral base 525 viscosity refrigerant oil.
9. Connect the evaporator inlet and outlet pipes at the bulkhead. Slide the plate (2) clockwise and secure with the bolt (1).
10. Install the I/P carrier.
11. Enable the SIR. Refer to SIR Disabling and Enabling Zones in Restraint Systems.
12. Connect the negative (-) battery cable.
13. Evacuate and recharge the air conditioning system. Refer to Refrigerant Recovery and Recharging.
14. Operate the A/C system and inspect for refrigerant leaks. Refer to Leak Testing.