Operation CHARM: Car repair manuals for everyone.
Manuals through 2025 now available!

Our trusted friends have launched a new website named LEMON, which has newer manuals. It also contains all the CHARM manuals.

LEMON is the spiritual successor to CHARM, I recommend you try it!

Link: lemon-manuals.la or lemon-manuals.org.ua

(Some people have issue connecting. LEMON is investigating. For now, use Firefox or change your DNS server)

Or, hide this message: temporarily or permanently

Explanation of Scheduled Services

EXPLANATION OF SCHEDULED SERVICES
For time and/or mileage intervals of scheduled maintenance items, refer to Maintenance Schedule.

ENGINE OIL QUALITY

NOTICE Use only engine oil with the American Petroleum Institute Certified for Gasoline Engines starburst symbol. Failure to use the recommended oil can result in engine damage not covered by the warranty. The STARBURST symbol indicates that the oil has been certified by the American Petroleum Institute (API). Do not use any oil which does not carry the STARBURST symbol.

ENGINE OIL VISCOSITY






NOTICE Using oils of any viscosity other than those recommended could result in engine damage. When choosing an oil, consider the range of temperatures the vehicle will be operated in before the next oil change. Then, select the recommended oil viscosity.

The recommended oil viscosity for the Truck is SAE 5W-30.

Engine oil viscosity has an effect on fuel economy and the cold-weather operation. Lower viscosity engine oils can provide better fuel economy and cold-weather performance. However, higher temperature weather conditions require higher viscosity engine oils for satisfactory lubrication. When the temperature is consistently above -18°C (0°F), SAE 10W-30 can be used. SAE 20W-50 or oils of other viscosity rating or quality designations are NOT recommended for use in this vehicle at any time.

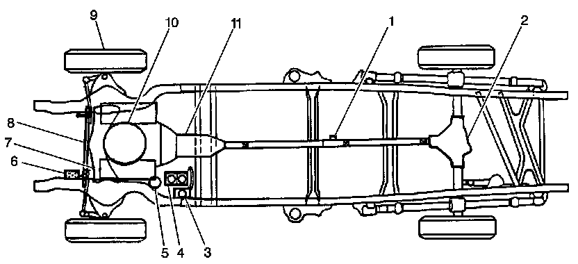
CHASSIS LUBRICATION

NOTICE: Do not lubricate the parking brake cables. Lubrication destroys the plastic coating on the cable.






(1) Propeller Shaft-Slip Joint
(2) Rear Axle Differential
(3) Clutch Actuator
(4) Master Cylinder
(5) Oil Filter
(6) Steering Gear
(7) Engine
(8) Steering Linkage
(9) Wheel Bearings
(10) Air Cleaner
(11) Transmission

Refer to the illustration for the location of the lubrication points for the chassis. Lubricate transmission shift linkage. Lubricate the park brake guides, underbody contact points and linkage.

LUBRICATING JOINTS THAT HAVE GREASE FITTINGS
Refer to the illustration for the location of the grease fittings

IMPORTANT: Wipe off all dirt from the grease fitting before lubricating the joint. Ball joints should not be lubricated unless their temperature is -12°C (10°F) or higher. During cold weather, the ball joint should be allowed to warm up as necessary before being lubricated. Use a low-pressure grease gun on all joints to prevent seal damage.

Apply grease slowly while watching the grease seal. Apply grease until grease is seen bleeding from the seal. If the seal expands but no grease is seen, do not apply any more grease and allow time for the grease to bleed from the seal.

TIRE AND WHEEL INSPECTION AND ROTATION
Check the tires for abnormal wear for damage. Rotate the tires to equalize the wear and obtain maximum tire life.

DRIVE BELT INSPECTION
Inspect the accessory drive belts for the following:
^ Cracks
^ Fraying
^ Wear
^ Proper tension Belts can have small cracks in individual ribs without affecting performance. Replace as needed.

AUTOMATIC TRANSMISSION SERVICE
Change both the fluid and the fluid filter according to the maintenance schedule intervals.

SPARK PLUG REPLACEMENT
Replace the spark plugs according to the maintenance schedule intervals with the correct type.

AIR CLEANER FILTER REPLACEMENT
Replace the air cleaner element according to the maintenance schedule intervals with the correct type.

FUEL TANKS, CAP AND LINES INSPECTION
Inspect the following components for damage or leaks:
^ The fuel tank
^ The fuel cap
^ The fuel lines
^ The fuel rails
^ The fuel injection assemblies
^ Inspect the fuel cap gasket for an even filler neck imprint and any damage. Replace parts as needed.

COOLING SYSTEM SERVICE
Drain, flush and refill the cooling system with new coolant.