Operation CHARM: Car repair manuals for everyone.
Manuals through 2025 now available!

Our trusted friends have launched a new website named LEMON, which has newer manuals. It also contains all the CHARM manuals.

LEMON is the spiritual successor to CHARM, I recommend you try it!

Link: lemon-manuals.la or lemon-manuals.org.ua

(Some people have issue connecting. LEMON is investigating. For now, use Firefox or change your DNS server)

Or, hide this message: temporarily or permanently

Positive: Service and Repair

BATTERY POSITIVE CABLE REPLACEMENT

REMOVAL PROCEDURE




1. Remove the negative battery cable from the negative battery terminal.

CAUTION: Refer to Battery Disconnect Caution in Service Precautions.

IMPORTANT:
- Both the positive and negative battery cables are serviced as one harness assembly (2).
- Whenever battery cables are being replaced, always be certain to use a replacement cable that is the same type, size and length. Some positive (+) cables have additional feed wires attached to them and some negative (-) cables have additional ground leads attached. Always be certain to route the replacement battery cable in exactly the same manner as the original cable.

1. Remove the positive battery cable from the positive battery terminal.
2. Remove the ground bolt from the bulkhead.
3. Remove the harness retainers.




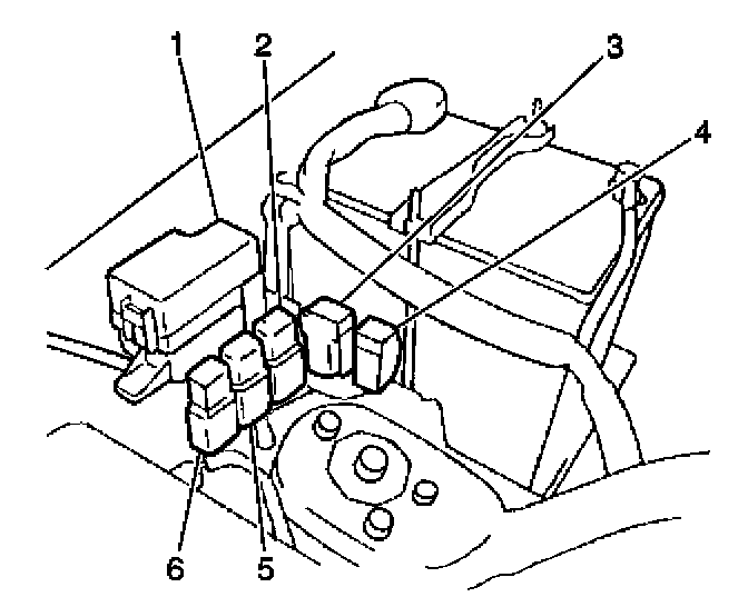
4. Remove the 3 bolts and the fuse box (1) from the right inner fender.
5. Remove the 2 bolts and the battery positive wires from the fuse box. Note the correct terminal routing for installation.
6. Remove the bolt and the harness clamp from the right engine mount.




7. Remove the nut and the battery positive wire from the generator.
8. Remove the nut and the battery positive wire (2) from the starter.
9. Remove the starter upper mounting bolt (1) and remove the ground wire.
10. Remove the battery harness from the vehicle.

INSTALLATION PROCEDURE




1. Install the battery harness to the vehicle.
2. Install the starter upper mounting bolt (1) and the ground wire.
3. Install the battery positive wire to the starter (2). Secure with the nut.
4. Install the battery positive wire to the generator. Secure with the nut.
5. Install the harness clamp to the right engine mount. Secure with the bolt.
6. Install the battery positive wires to the fuse box noting the correct terminal routing.




7. Install the fuse box (1) to the right inner fender. Secure with the 3 bolts.




8. Install the ground wire to the bulkhead.
9. Connect the harness (1) retainers.
10. Install the positive battery cable to the positive battery terminal.
11. Install the negative battery cable to the negative battery terminal.

NOTE: Refer to Fastener Notice in Service Precautions.

Tighten
Tighten the battery cable-to-battery terminals to 15 N.m (11 lb ft).