Operation CHARM: Car repair manuals for everyone.
Manuals through 2025 now available!

Our trusted friends have launched a new website named LEMON, which has newer manuals. It also contains all the CHARM manuals.

LEMON is the spiritual successor to CHARM, I recommend you try it!

Link: lemon-manuals.la or lemon-manuals.org.ua

(Some people have issue connecting. LEMON is investigating. For now, use Firefox or change your DNS server)

Or, hide this message: temporarily or permanently

Clutch Components



One-Way Clutch:





One-Way Clutch

1 - Snap Ring
2 - One-Way Clutch
3 - Second Brake Hub
4 - Retainer

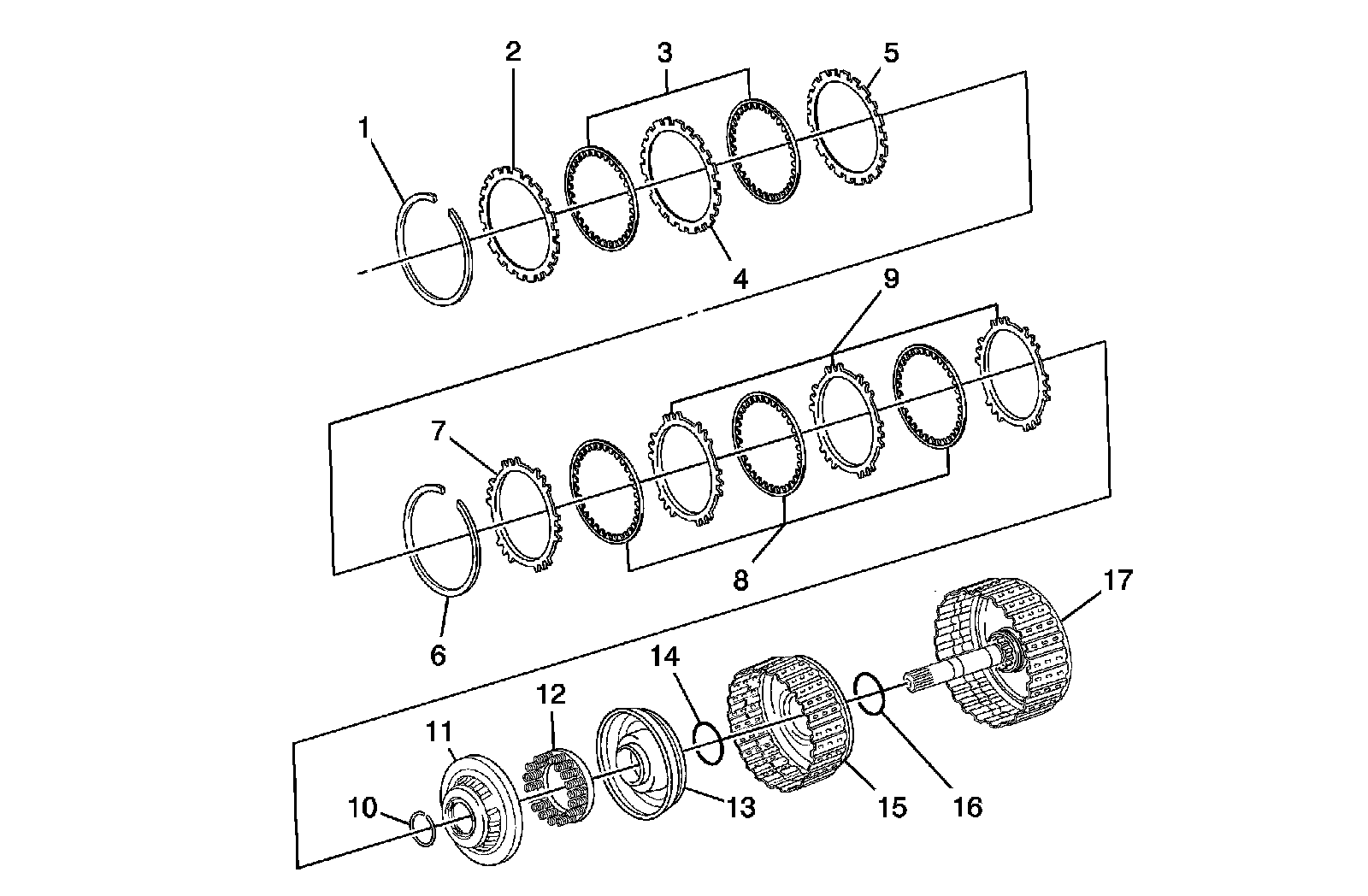
Forward and Reverse Clutch:





Forward and Reverse Clutch

1 - Seal Ring
2 - Flange
3 - Disc
4 - Plate
5 - Flange
6 - Snap Ring
7 - Flange
8 - Disc
9 - Plate
10 - Snap Ring
11 - Clutch Balancer
12 - Forward Clutch Return Spring
13 - Forward Clutch Piston
14 - O-Ring
15 - Forward Clutch Drum
16 - O-Ring
17 - Intermediate Shaft Sub-Assembly