Operation CHARM: Car repair manuals for everyone.
Manuals through 2025 now available!

Our trusted friends have launched a new website named LEMON, which has newer manuals. It also contains all the CHARM manuals.

LEMON is the spiritual successor to CHARM, I recommend you try it!

Link: lemon-manuals.la or lemon-manuals.org.ua

(Some people have issue connecting. LEMON is investigating. For now, use Firefox or change your DNS server)

Or, hide this message: temporarily or permanently

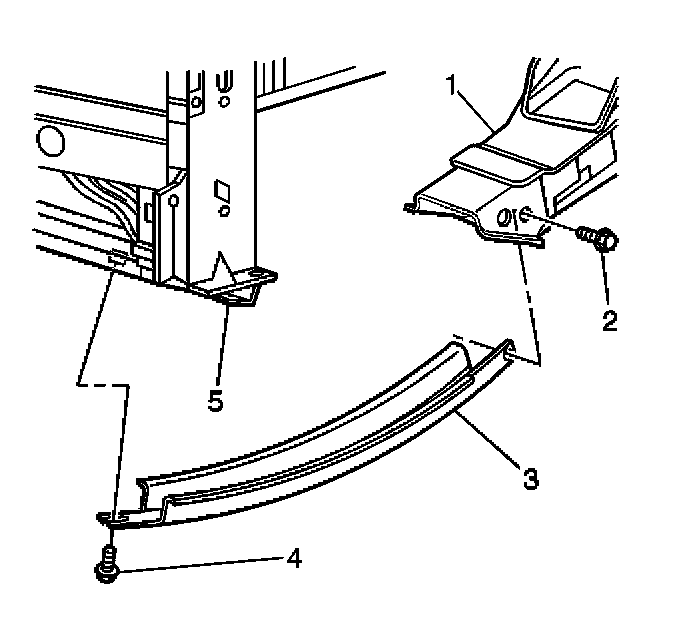
Strut / Shock Tower: Service and Repair

FRONT SUSPENSION SUPPORT BRACE REPLACEMENT

REMOVAL PROCEDURE
1. Raise the vehicle on a hoist. Refer to Vehicle Lifting.







2. Remove the bolt (2) from the front suspension support brace (3) and the front suspension crossmember (1).
3. Remove the bolt (4) from the front suspension support brace (3) and the lower tie bar (5).
4. Remove the front suspension support brace (3) from the vehicle.



INSTALLATION PROCEDURE







1. Install the front suspension support brace (3) to the vehicle.
2. Install the bolt (4) to the suspension support brace (3) and lower the tie bar (5).
Hand tighten the bolt.

3. Install the bolt (4) to the front suspension support brace (3) and the front suspension crossmember (1).

NOTE: Refer to Fastener Notice in Service Precautions.



Tighten
Tighten the bolts to 72 N.m (53 lb ft).

4. Lower the vehicle.