Operation CHARM: Car repair manuals for everyone.
Manuals through 2025 now available!

Our trusted friends have launched a new website named LEMON, which has newer manuals. It also contains all the CHARM manuals.

LEMON is the spiritual successor to CHARM, I recommend you try it!

Link: lemon-manuals.la or lemon-manuals.org.ua

(Some people have issue connecting. LEMON is investigating. For now, use Firefox or change your DNS server)

Or, hide this message: temporarily or permanently

Control Arm: Service and Repair

LOWER CONTROL ARM REPLACEMENT

REMOVAL PROCEDURE
1. Raise the vehicle on a hoist. Refer to Vehicle Lifting.
2. Remove the tire and wheel assemblies.
3. If the vehicle is equipped with a stabilizer shaft, remove the stabilizer shaft link.







4. If removing the right lower control arm, remove the engine mount strut retaining bolts.
5. Remove the engine mount strut.







6. If removing the left lower control arm, remove the front suspension support brace mounting bolts.
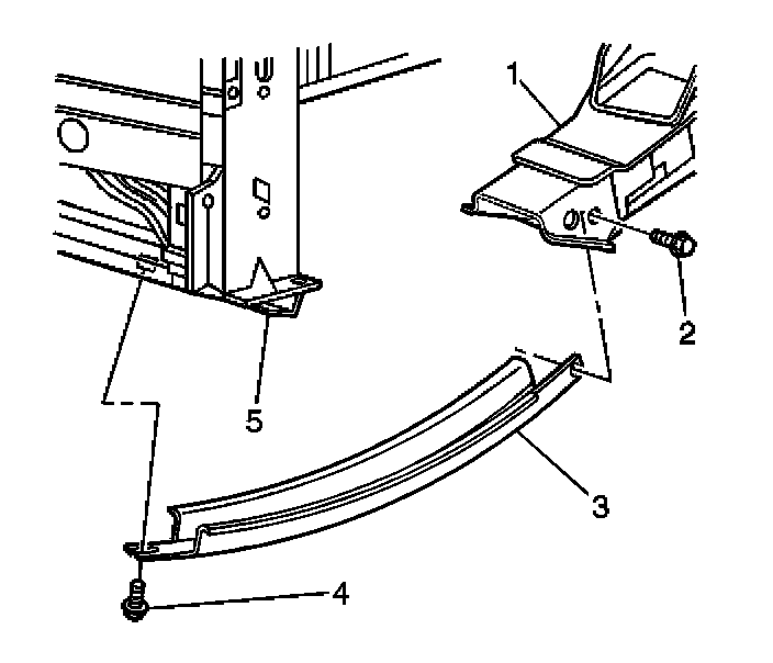
7. Remove the front suspension support brace (3).
8. Remove the ball joint from the steering knuckle.







9. Remove the wiring harness from the lower control arm.
10. Remove the lower control arm front (5) and the rear (4) mounting bolts.
11. Remove the lower control arm (2) from the front suspension crossmember (1).

INSTALLATION PROCEDURE







1. Install the control arm (2) into the front suspension crossmember (1).
2. Install the lower control arm front (5) and rear (4) mounting bolts. Hand tighten the mounting bolts.
3. Install the wiring harness to the lower control arm.
4. Install the ball joint stud to the steering knuckle.
5. If the vehicle is equipped with a stabilizer shaft, install the stabilizer shaft link.







6. If installing the right lower control arm, install the engine mount strut.
7. Install the engine mount strut retaining bolts.

NOTE: Refer to Fastener Notice in Service Precautions.



Tighten
Tighten the engine mount strut retaining bolts to 100 N.m (74 lb ft).







8. If installing the left lower control arm, install the front suspension support brace.
9. Install the front suspension support brace mounting bolts (2, 4).

Tighten
Tighten the front suspension support mounting bolts to 72 N.m (53 lb ft).

10. Install the tire and the wheel assembly.
11. Lower the vehicle.







12. Tighten the control arm front mounting bolt (5) (front bushing) with the vehicle at curb height.

Tighten
Tighten the bolt to 100 N.m plus 90 degrees rotation (74 lb ft).

13. Tighten the control arm rear mounting bolt (4) (rear vertical bushing).

Tighten
Tighten to 170 N.m (125 lb ft).

14. Inspect the front wheel alignment.