Operation CHARM: Car repair manuals for everyone.
Manuals through 2025 now available!

Our trusted friends have launched a new website named LEMON, which has newer manuals. It also contains all the CHARM manuals.

LEMON is the spiritual successor to CHARM, I recommend you try it!

Link: lemon-manuals.la or lemon-manuals.org.ua

(Some people have issue connecting. LEMON is investigating. For now, use Firefox or change your DNS server)

Or, hide this message: temporarily or permanently

Clutch, M/T




Clutch Component Locator View

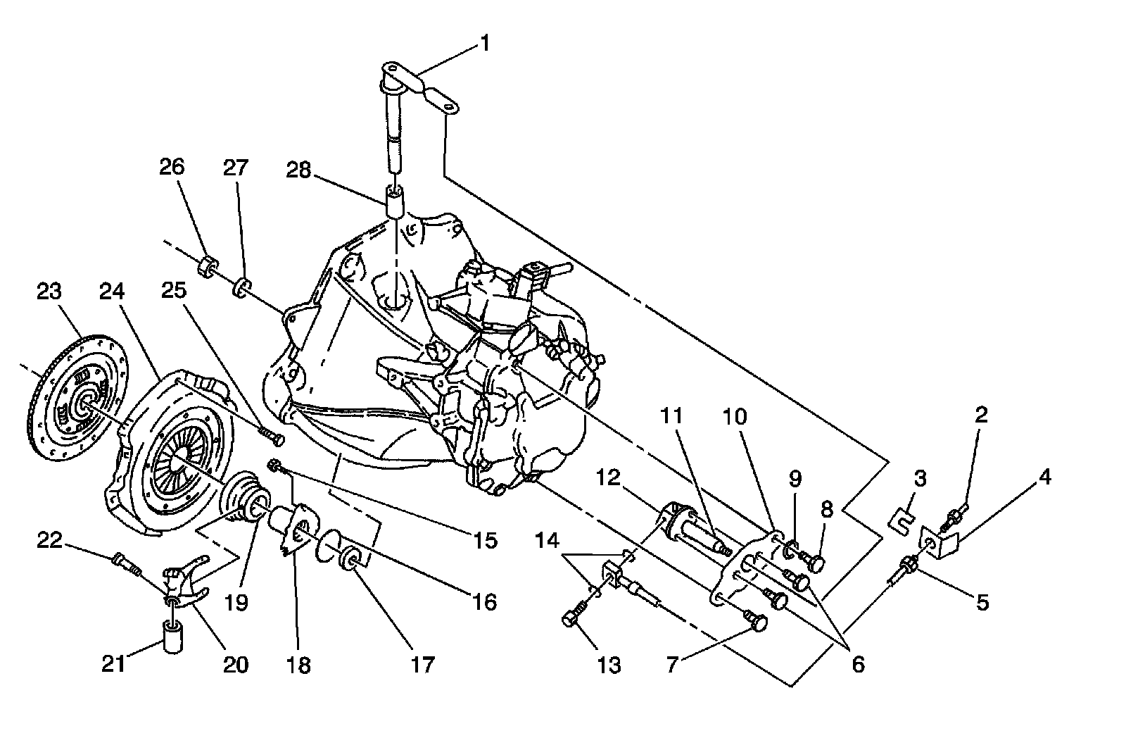
Hydraulic Clutch Components





1 - Release Lever

2 - Pipe

3 - Clip

4 - Clamp

5 - Hose

6 - Bolt

7 - Bolt

8 - Bolt

9 - Spring Washer

10 - Release Cylinder Bracket

11 - Release Cylinder

12 - Air Bleeder

13 - Bolt

14 - Copper Washer

15 - Bolt

16 - O-ring

17 - Input Shaft Seal

18 - Bearing Guide Sleeve

19 - Release Bearing

20 - Fork

21 - Bushing

22 - Bolt

23 - Bolt

24 - Pressure Plate

25 - Clutch Disc

26 - Nut

27 - Spring Washer

28 - Bushing

Clutch Pedal





1 - Clutch Master Cylinder

2 - Gasket

3 - Turn Over Spring

4 - Clutch Pedal Brace

5 - Bushing

6 - Nut

7 - Washer

8 - Clutch Pedal Bracket

9 - Washer

10 - Nut

11 - Bolt

12 - Pedal Shaft

13 - Nut

14 - Clutch Pedal Buffer

15 - Clutch Pedal Buffer

16 - Bushing

17 - Pin

18 - Bushing

19 - Clutch Pedal

20 - Pedal Cover

Clutch Assembly





1 - Flywheel

2 - Clutch Disc

3 - Pressure Plate

4 - Release Bearing