Operation CHARM: Car repair manuals for everyone.
Manuals through 2025 now available!

Our trusted friends have launched a new website named LEMON, which has newer manuals. It also contains all the CHARM manuals.

LEMON is the spiritual successor to CHARM, I recommend you try it!

Link: lemon-manuals.la or lemon-manuals.org.ua

(Some people have issue connecting. LEMON is investigating. For now, use Firefox or change your DNS server)

Or, hide this message: temporarily or permanently

Engine: Locations




Disassembled Views

Upper End





1 - Vacuum Pipe

2 - Fuel Pressure Regulator

3 - Clip

4 - Fuel Rail Hose

5 - Fuel Rail

6 - Fuel Injector

7 - O-Ring

8 - Fuel Injector Clip

9 - PCV Valve

10 - PCV Vacuum Hose

11 - Variable Intake System (VIS) Actuator

12 - VIS Valve

13 - Manifold Air Pressure (MAP) Sensor

14 - Throttle Body Seal

15 - Intake Air Temperature (IAT) Sensor

16 - Intake Manifold

17 - VIS Vacuum Tank

18 - Engine Beautification Cover

19 - VIS Solenoid

20 - Exhaust Gas Recirculation (EGR) Valve

21 - Intake EGR Pipe

22 - EGR Adapter

23 - Exhaust EGR Pipe

24 - Upper Heat Shield

25 - Exhaust Manifold (1-3)

26 - Exhaust Manifold (4-6)

27 - Lower Heat Shield

28 - Rear Support Bracket

29 - Bolt

30 - Coolant Outlet Port Gasket

31 - Coolant Outlet Port

32 - Wiring Harness

33 - Valve Spring Retainer

34 - Valve Key

35 - Valve Spring

36 - Valve Stem Seal

37 - Valve Seat Ring

38 - Intake Valve

39 - Exhaust Valve

40 - Valve Guide

41 - Cylinder Head Gasket

42 - Engine Mount Bracket Support

43 - Front Support Bracket

44 - Intake Cam Sprocket

45 - Exhaust Cam Sprocket

46 - Plug

47 - Front Rocker Arm Shaft

48 - Cylinder Head

49 - Rocker Arm

50 - Top Chain Guide

51 - Camshaft Position (CMP) Sensor

52 - Rocker Arm Shaft Plug

53 - Rear Rocker Arm Shaft

54 - Spring

55 - Intake Camshaft

56 - Exhaust Camshaft

57 - Camshaft Cap

58 - Cylinder Head Cover Gasket

59 - Intake Manifold Bracket

60 - Feeding and Return Heater Pipe

61 - Intake Manifold Support Bracket

62 - Oil Filler Cap

63 - Spark Plug

64 - Ignition Coil

65 - Cylinder Head Cover

66 - Intake Port Seal

67 - EGR Seal

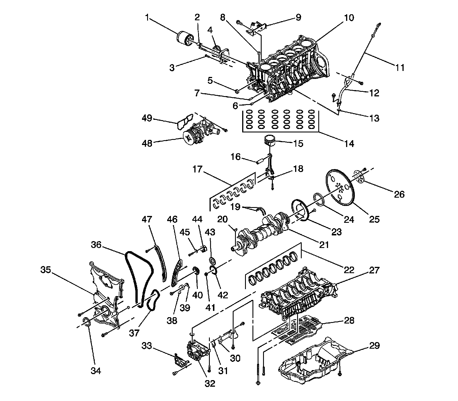
Lower End





1 - Oil Filter

2 - Connecting Piece

3 - Bolt

4 - Oil Filter Adapter

5 - Oil Gallery Plug

6 - Dowel Ring

7 - Oil Jet Nozzle

8 - Dowel Pin

9 - Upper Exhaust Bracket

10 - Cylinder Block

11 - Engine Oil Dipstick

12 - Engine Oil Dipstick Tube

13 - O-Ring

14 - Piston Ring

15 - Piston

16 - Piston Pin

17 - Connecting Rod Bearing

18 - Connecting Rod

19 - Thrust Bearing

20 - Woodruff Key

21 - Crankshaft

22 - Crankshaft Bearing

23 - Target Wheel

24 - Rear Oil Seal

25 - Flexible Plate

26 - Flexible Plate Disk Reinforce

27 - Bed Plate

28 - Bed Plate Baffle

29 - Oil Pan

30 - Oil Suction Pipe

31 - Gasket

32 - Oil Pump

33 - Oil Pump Sprocket Cover

34 - Front Oil Seal

35 - Timing Chain Cover

36 - Timing Chain

37 - Oil Pump Chain

38 - Oil Pump Chain Lever

39 - Oil Pump Chain Lever Spring

40 - Crankshaft Sprocket

41 - Nut

42 - Oil Pump Sprocket

43 - Crankshaft Oil Pump Sprocket

44 - Timing Chain Tensionear

45 - Spring Washer

46 - Fixed Chain Guide

47 - Timing Chain Lever

48 - Water Pump

49 - Water Pump Gasket

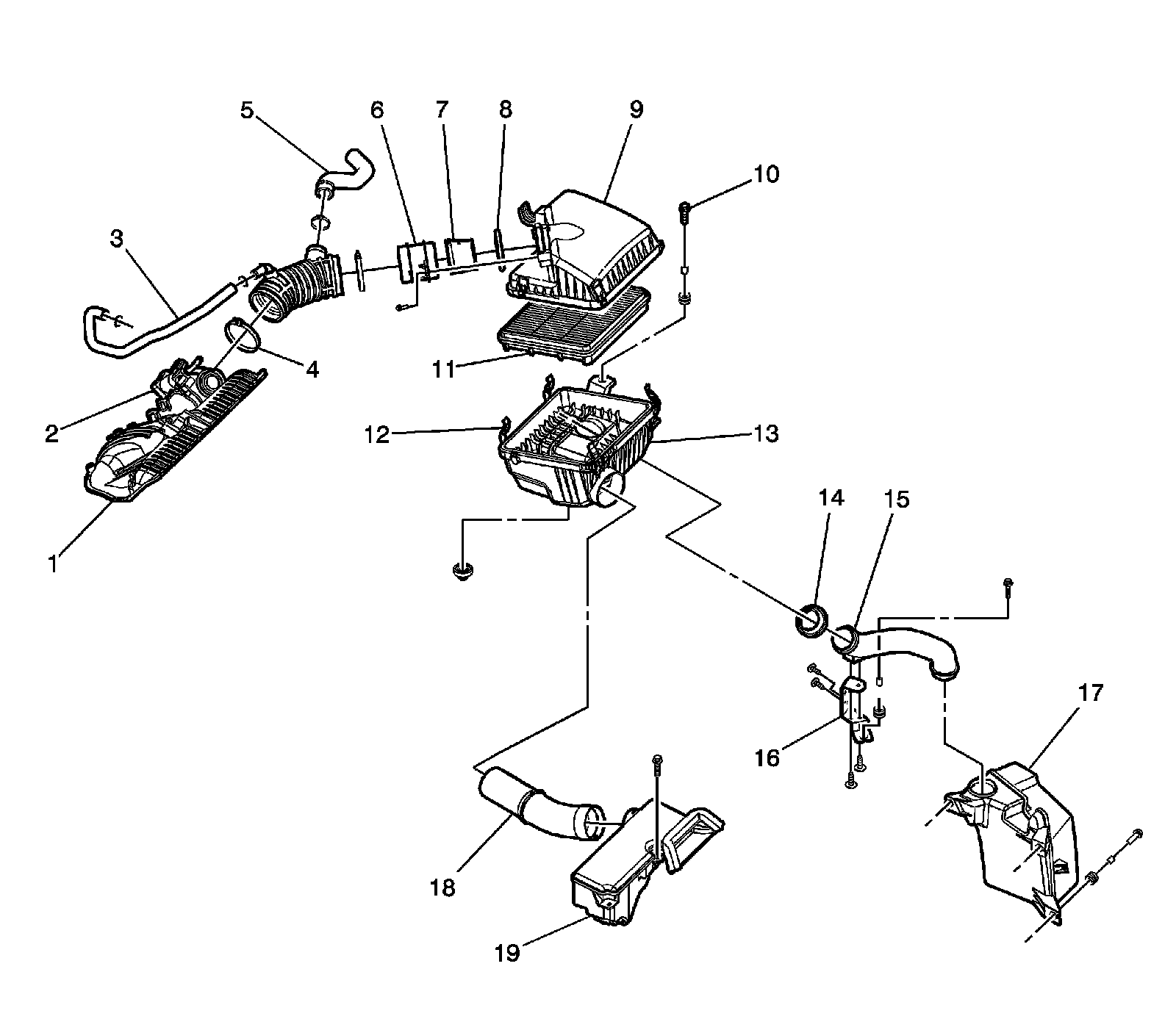
Air Intake System





1 - Intake Manifold

2 - Throttle Body Assembly

3 - Breather Hose

4 - Clamp

5 - Auxiliary Resonator Neck

6 - Air Filter Hose Joint

7 - Air Filter Diffuser

8 - Air Filter Seal

9 - Upper Air Filter Housing

10 - Bolt

11 - Air Filter Element

12 - Air Filter Housing Clip

13 - Lower Air Filter Housing

14 - Resonator Seal

15 - Resonator Neck

16 - Bracket

17 - Resonator

18 - Air Filter Inlet Hose

19 - Air Filter Snorkel

Engine Mount System





1 - Engine Mount Support Bracket

2 - Bolt

3 - Hydro Mount

4 - Washer

5 - Nut

6 - Engine Mount Bracket

7 - Rear Transaxle Mount Bracket

8 - Rear Damper Bush Bracket

9 - Front Suspension Member

10 - Transaxle Mount Cage

11 - Transaxle Mount Bracket

12 - Engine Under Cover

13 - Front Engine Mount Bracket

14 - Front Damper Bush Bracket