Operation CHARM: Car repair manuals for everyone.
Manuals through 2025 now available!

Our trusted friends have launched a new website named LEMON, which has newer manuals. It also contains all the CHARM manuals.

LEMON is the spiritual successor to CHARM, I recommend you try it!

Link: lemon-manuals.la or lemon-manuals.org.ua

(Some people have issue connecting. LEMON is investigating. For now, use Firefox or change your DNS server)

Or, hide this message: temporarily or permanently

Harness Routing Views




Harness Routing Views

Rear Harness Routing





1 - C402

2 - License Lamp- Left Hand

3 - To Rear Compartment Lid Ajar Switch

4 - License Lamp- Right Hand

5 - Tail Lamp- Right Hand

6 - C401

7 - Tail Lamp- Left Hand

Front Harness Routing





1 - C108

2 - C101

3 - Lamp Position and Turn/Signal - Left Hand

4 - Hood Ajar Switch

5 - Headlamp - Right Hand

6 - Lamp Position and Turn/Signal - Right Hand

7 - To Horn

8 - Compressor

9 - Washer Pump Motor

10 - Washer Fluid Sensor

11 - Front Fog Lamp - Right Hand

12 - Front Fog Lamp - Left Hand

13 - Ambient Temperature Sensor

14 - Cooling Fan

15 - Theft Deterrent Alarm

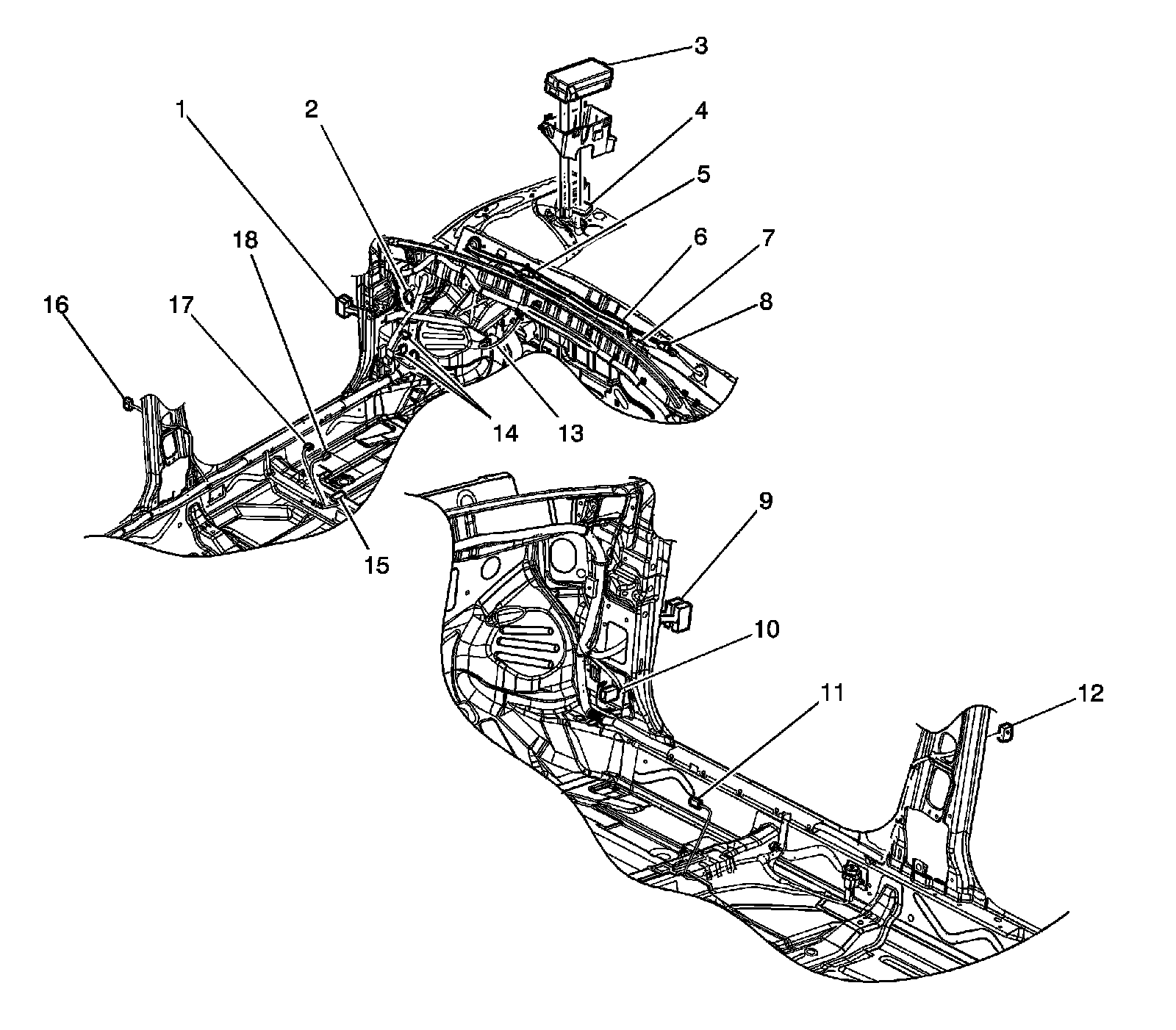
Body Harness Routing





1 - C351/C352

2 - S302

3 - Underhood Fuse Block

4 - C102

5 - Wiper Motor

6 - Body Wiring Harness

7 - C107

8 - C110

9 - C361/C362

10 - C218

11 - Heated Seat Element- Right Hand

12 - C381

13 - Brake Switch

14 - Body Control Module (BCM)

15 - G302

16 - C371

17 - Power Seat

18 - Heated Seat Element- Left Hand

IP Harness Routing





1 - Speaker - Left Hand

2 - Data Link Connector

3 - Speaker - Right Hand

4 - C218

5 - C219

6 - IP Compartment Lamp

7 - C217

8 - IP Compartment Lamp Switch

9 - S204

10 - S203

11 - Daytime Running Lamp (DRL) Module

12 - C216

13 - Auxiliary Power Outlet

14 - Shift Indicator Lamp

15 - Hold Switch

16 - Traction Control System (TCS) Switch

17 - Park Brake Switch

18 - Automatic Transmission Switch Lock Solenoid

19 - G201

20 - Radio

21 - Headlamp Switch

22 - Dimmer Control Switch

23 - Mirror Control Switch

24 - Instrument Panel (I/P) Fuse Block

25 - C209

26 - C208

27 - C207

28 - C210

29 - Body Control Module (BCM)

30 - C211

31 - Instrument Cluster

Door Harness Routing





1 - Door Lock Solenoid (Part of Door Latch)

2 - Door Contact Switch (Part of Door Latch)

3 - Power Window Switch

4 - Power Window Motor

5 - C371/C381

6 - Speaker

7 - Rear Door

8 - Front Door, Driver Side

9 - Stop Lamp

10 - Rear Compartment Lid Release Switch

11 - Door Tamper Switch (Part of Door Latch)

12 - Outside Mirror

13 - C351/C352

14 - Front Door, Passenger Side

15 - C361/C362

16 - Folding Mirror Module