Operation CHARM: Car repair manuals for everyone.
Manuals through 2025 now available!

Our trusted friends have launched a new website named LEMON, which has newer manuals. It also contains all the CHARM manuals.

LEMON is the spiritual successor to CHARM, I recommend you try it!

Link: lemon-manuals.la or lemon-manuals.org.ua

(Some people have issue connecting. LEMON is investigating. For now, use Firefox or change your DNS server)

Or, hide this message: temporarily or permanently

Case and Associated Parts



Case and Associated Parts (1 of 2)

Case and Associated Parts (1 of 2):





1 - Torque Converter Assembly
2 - Automatic Transmission Fluid Pump, 2nd Coast Clutch, 2nd Clutch Assembly
3 - Torque Converter Housing Stud (M8 x 1.25 x 30) (2)
4 - Torque Converter Housing Bolt/Screw (M8 x 1.25 x 30) (11)
5 - Automatic Transmission Fluid Pump to Case Bolt - Coated M8 x 1.25 x 28) (8)
6 - Torque Converter Housing Bolt/Screw - Coated (M8 x 1.25 x 35) (2)
7 - Torque Converter Housing Bolt/Screw (M8 x 1.25 x 45)
8 - Torque Converter Housing Bolt/Screw -TORX, (M8 x 1.25 x 30)
10 - Torque Converter Housing Assembly
11 - 2nd Clutch Hub and 2nd Clutch Sprag Assembly
12 - Output Gear Assembly
13 - Front Differential Assembly - Model Dependent
14 - Front Differential Transfer Drive Gear Assembly - with shaft
15 - 4-5 Clutch Assembly
16 - 3rd Gear Band Assembly
17 - Automatic Transmission Case Assembly
18 - 1-2 Reverse Carrier Gear Assembly
19 - Automatic Transmission Case Cover and 1-2 Reverse Clutch Assembly
20 - Transmission Case Cover Bolt/Screw (M8 x 1.25 x 30) (9) - Coated
21 - Transmission Case Cover Bolt/Screw - Coated (M8 x 1.25 x 48)
22 - Transmission Case Cover Bolt/Screw (M8 x 1.25 x 45) (2)
23 - Forward and Direct Clutch Assembly
24 - Front Carrier Sun Gear Assembly
25 - Front Internal Gear and Overrun Roller Clutch
26 - Low and Reverse Clutch Plates - Fibers and Steels (B3)
27 - Low and Reverse Clutch Piston Assembly
28 - Control Valve Body Cover Bolt/Screw - TORX (M8 x 1.25 x 15.5) (9)
29 - Control Valve Body Cover
30 - Control Valve Body Bolt/Screw (M6 x 1.0 x 50) (4)
31 - Fluid Temperature Sensor Clip Bolt (M6 x 1.0 x 55)
32 - Automatic Transmission Fluid Temperature Sensor O-ring Seal
33 - Automatic Transmission Wiring Harness Assembly
34 - Control Valve Body Bolt/Screw (M6 x 1.0 x 16) (2)
35 - Control Valve Body Bolt/Screw (M6 x 1.0 x 28) (2)
36 - Automatic Transmission Fluid Temperature Sensor
37 - Control Valve Body Fluid Passage Cover
38 - Control Valve Body Fluid Passage Cover Gasket
39 - Automatic Transmission Control Valve Body Assembly
40 - Automatic Transmission Case Fluid Passage Cover
41 - Automatic Transmission Case Fluid Passage Cover Bolt/Screw (M6 x 1.0 x 14) (2)
42 - Automatic Transmission Fluid Filter Assembly
43 - Automatic Transmission Fluid Filter Bolt/Screw (M6 x 1.0 x 16.7)
44 - Automatic Transmission Fluid Baffle
45 - Transmission Fluid Baffle Bolt/Screw (M6 x 1.0 x 14.7) (3)
46 - Automatic Transmission Wiring Connector O-ring Seal
47 - Control Valve Body Bolt/Screw (M6 x 1.0 x 55) (2)
48 - Output Gear Retaining Ring
49 - Automatic Transmission Fluid Temperature Sensor Clip

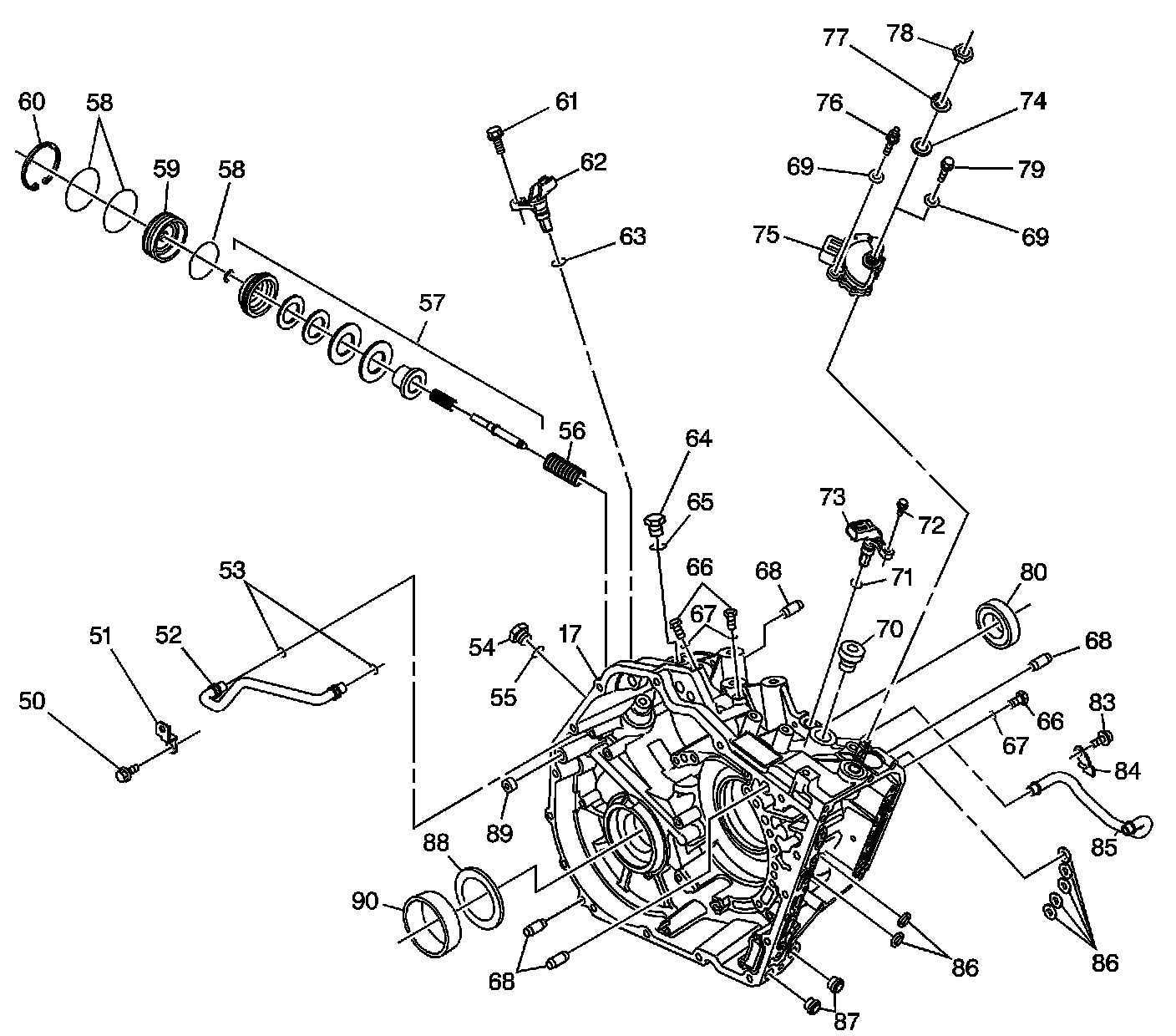
Case and Associated Parts (2 of 2)

Case and Associated Parts (2 of 2):





17 - Automatic Transmission Case Assembly
50 - 3rd Gear Band Apply Tube Retainer Bolt/Screw (M6 x 1.0 x 14) (2)
51 - 3rd Gear Band Apply Tube Retainer
52 - 3rd Gear Band Apply Tube
53 - 3rd Gear Band Apply Tube O-ring Seal
54 - Automatic Transmission Case Plug (M20 x 1.5 x 13.5)
55 - Automatic Transmission Case Plug O-ring Seal
56 - 3rd Gear Band Servo Spring
57 - 3rd Gear Band Servo Piston Assembly - Selective
58 - 3rd Gear Band Servo Piston and Cover O-ring Seal (3)
58 - 3rd Gear Band Servo Piston and Cover O-ring Seal (3)
59 - 3rd Gear Band Servo Cover
60 - 3rd Gear Servo Cover Retaining Ring
61 - Automatic Transmission Output Speed Sensor Bolt/Screw (M6 x 1.0 x 16)
62 - Automatic Transmission Output Speed Sensor Assembly
63 - Automatic Transmission Output Speed Sensor O-ring Seal
64 - 3rd Gear Band Anchor Bolt/Screw (M20 x 1.5 x 21)
65 - 3rd Gear Band Anchor Bolt O-ring Seal
66 - Automatic Transmission Fluid Pressure Test Hole Plug (UNF 5/16-24-2A) (3)
66 - Automatic Transmission Fluid Pressure Test Hole Plug (UNF 5/16-24-2A) (3)
67 - Automatic Transmission Fluid Pressure Test Hole Plug O-ring Seal (3)
67 - Automatic Transmission Fluid Pressure Test Hole Plug O-ring Seal (3)
68 - Transmission Case Locating Pin (4)
68 - Transmission Case Locating Pin (4)
68 - Transmission Case Locating Pin (4)
69 - Washer - Flat (2)
69 - Washer - Flat (2)
70 - Lube Fill Plug
71 - Automatic Transmission Input Speed Sensor O-ring Seal
72 - Automatic Transmission Input Speed Sensor Bolt/Screw (M6 x 1.0 x 16)
73 - Automatic Transmission Input Speed Sensor Assembly
74 - Park/Neutral Position Switch Washer - Flat
75 - Park/Neutral Position Switch Assembly
76 - Park/Neutral Position Switch Stud (M8 x 1.25 x 22)
77 - Park/Neutral Position Switch Washer - Lock Tab
78 - Park/Neutral Position Switch Nut (M16 x 1.5)
79 - Park/Neutral Position Switch Bolt/Screw (M8 x 1.25 x 36)
80 - Front Wheel Drive Shaft Oil Seal
83 - Lube Fluid Pipe Retainer Bolt/Screw (M6 x 1.0 x 14.5)
84 - Lube Fluid Pipe Retainer
85 - Lube Fluid Pipe
86 - Automatic Transmission Case Fluid Passage Seal (7)
86 - Automatic Transmission Case Fluid Passage Seal (7)
87 - Transmission Fluid Cooler Pipe Fitting Seal (2)
88 - Front Differential Side Gear Shim - Selective
89 - Automatic Transmission Case Fluid Passage Seal
90 - Front Differential Bearing Race