Operation CHARM: Car repair manuals for everyone.
Manuals through 2025 now available!

Our trusted friends have launched a new website named LEMON, which has newer manuals. It also contains all the CHARM manuals.

LEMON is the spiritual successor to CHARM, I recommend you try it!

Link: lemon-manuals.la or lemon-manuals.org.ua

(Some people have issue connecting. LEMON is investigating. For now, use Firefox or change your DNS server)

Or, hide this message: temporarily or permanently

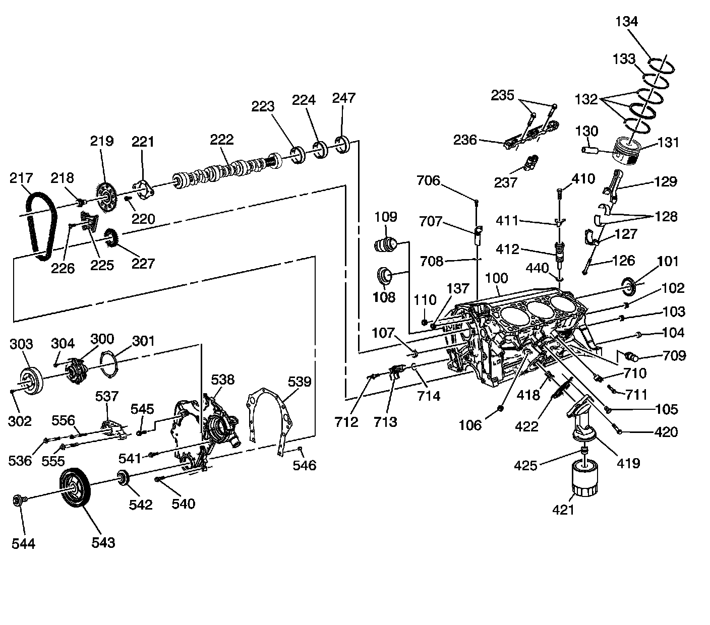
Engine Block and Components

Engine Block and Components

Engine Block and Components:





100 - Engine Block
101 - Camshaft Rear Bearing Hole Plug
102 - Engine Block Oil Gallery Plug Assembly - Rear - Large
103 - Engine Block Oil Gallery Plug Assembly - Rear - Small
104 - Transmission Locating Pin
105 - Engine Block Coolant Drain Hole Plug
106 - Oil Filter Bypass Hole Plug Assembly
107 - Engine Block Oil Gallery Plug Assembly - Front
108 - Engine Block Heater Plug
109 - Engine Block Heater
110 - Engine Block Oil Gallery Plug - Front - Small
126 - Connecting Rod Bearing Cap Bolt
127 - Connecting Rod Bearing Cap
128 - Connecting Rod Bearing
129 - Connecting Rod
130 - Piston Pin
131 - Piston
132 - Piston Ring - Oil Control
133 - Piston Ring - Compression - Lower
134 - Piston Ring - Compression - Upper
137 - Engine Block Oil Gallery Plug - Front - Large
217 - Timing Chain
218 - Camshaft Sprocket Bolt
219 - Camshaft Sprocket
220 - Camshaft Thrust Plate Bolt
221 - Camshaft Thrust Plate
222 - Camshaft
223 - Camshaft Bearing - 1
224 - Camshaft Bearing - 2 and 3
225 - Timing Chain Dampener
226 - Timing Chain Dampener Bolt
227 - Crankshaft Sprocket
235 - Valve Lifter Guide Bolt
236 - Valve Lifter Guide
237 - Valve Lifter
247 - Camshaft Bearing - 4
300 - Water Pump
301 - Water Pump Gasket
302 - Water Pump Pulley Bolt
303 - Water Pump Pulley
304 - Water Pump Bolt
410 - Oil Pump Drive Bolt
411 - Oil Pump Drive Clamp
412 - Oil Pump Drive
418 - Oil Filter Bypass Valve
419 - Oil Filter Adapter
420 - Oil Filter Adapter Bolt
421 - Oil Filter
422 - Oil Filter Adapter Gasket
425 - Oil Filter Fitting
440 - Oil Pump Drive Seal
536 - Engine Mount Snubber Bracket Bolt
537 - Engine Mount Snubber Bracket
538 - Engine Front Cover
539 - Engine Front Cover Gasket
540 - Engine Front Cover Bolt - Small
541 - Engine Front Cover Bolt - Medium
542 - Crankshaft Front Oil Seal
543 - Crankshaft Balancer
544 - Crankshaft Balancer Bolt
545 - Engine Front Cover Bolt - Large
546 - Engine Front Cover Locating Pin
555 - Engine Mount Snubber Bracket Bolt - Large
556 - Engine Mount Snubber Bracket Bolt - Small
706 - Camshaft Sensor Bolt
707 - Camshaft Sensor
708 - Camshaft Sensor Seal
709 - Engine Oil Pressure Sensor
710 - Knock Sensor
711 - Knock Sensor Bolt
712 - Crankshaft Position Sensor Stud
713 - Crankshaft Position Sensor
714 - Crankshaft Position Sensor Seal