Operation CHARM: Car repair manuals for everyone.
Manuals through 2025 now available!

Our trusted friends have launched a new website named LEMON, which has newer manuals. It also contains all the CHARM manuals.

LEMON is the spiritual successor to CHARM, I recommend you try it!

Link: lemon-manuals.la or lemon-manuals.org.ua

(Some people have issue connecting. LEMON is investigating. For now, use Firefox or change your DNS server)

Or, hide this message: temporarily or permanently

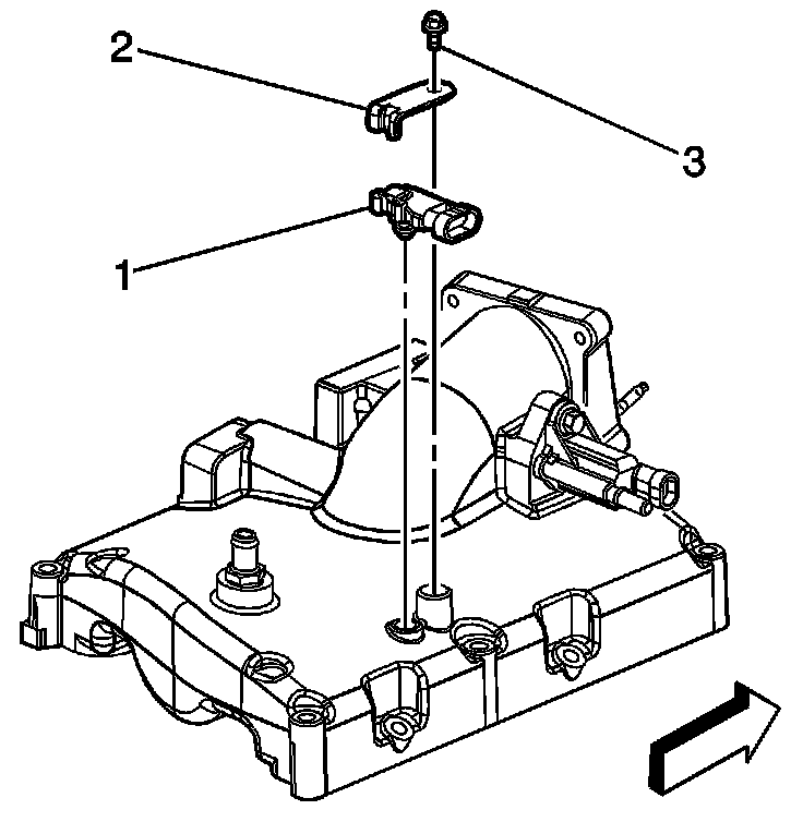
Manifold Pressure/Vacuum Sensor: Service and Repair



MANIFOLD ABSOLUTE PRESSURE (MAP) SENSOR REPLACEMENT

REMOVAL PROCEDURE




1. Disconnect the manifold absolute pressure (MAP) sensor electrical connector.
2. Remove the MAP sensor retaining bolt (3) and bracket (2).
3. Remove the MAP sensor (1) and the MAP sensor port seal if it is still retained in the intake manifold.

INSTALLATION PROCEDURE




1. Install the MAP sensor (1) to the intake manifold.
2. Install the MAP sensor retaining bracket (2) and bolt (3).

NOTE: Refer to Fastener Notice in Service Precautions.

Tighten
Tighten the bolt to 10 N.m (89 lb in).

3. Connect the MAP sensor electrical connector.