Operation CHARM: Car repair manuals for everyone.
Manuals through 2025 now available!

Our trusted friends have launched a new website named LEMON, which has newer manuals. It also contains all the CHARM manuals.

LEMON is the spiritual successor to CHARM, I recommend you try it!

Link: lemon-manuals.la or lemon-manuals.org.ua

(Some people have issue connecting. LEMON is investigating. For now, use Firefox or change your DNS server)

Or, hide this message: temporarily or permanently

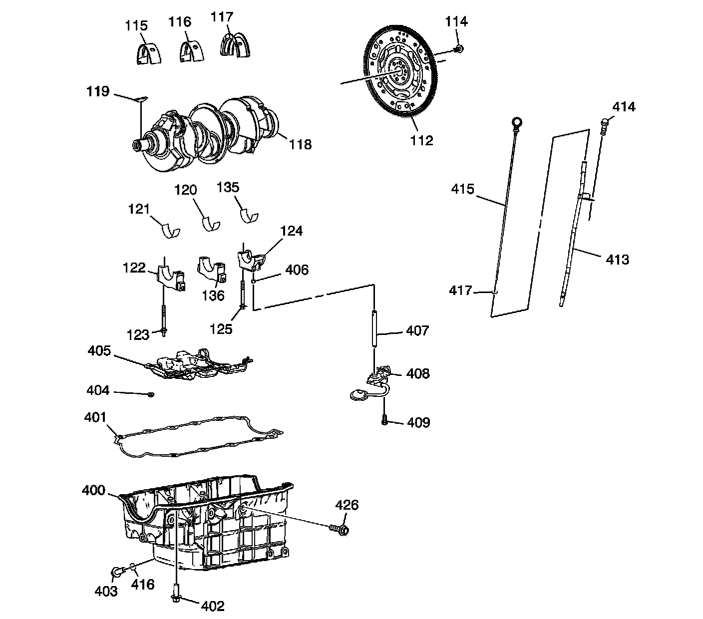
Crankshaft and Components



Crankshaft and Components





112 - Flywheel
114 - Flywheel Bolt
115 - Crankshaft Upper Bearing - 1 and 4
116 - Crankshaft Upper Bearing - 2
117 - Crankshaft Upper Bearing - 3
118 - Crankshaft
119 - Crankshaft Balancer Key
120 - Crankshaft Lower Bearing - 2
121 - Crankshaft Lower Bearing - 1 and 4
122 - Crankshaft Bearing Cap - 1
123 - Crankshaft Bearing Cap Stud
124 - Crankshaft Bearing Cap - 4
125 - Crankshaft Bearing
135 - Crankshaft Lower Bearing - 3
136 - Crankshaft Bearing Cap - 2 and 3
400 - Oil Pan
401 - Oil Pan Gasket
402 - Oil Pan Bolt - to Engine Block
403 - Oil Pan Drain Plug
404 - Crankshaft Oil Deflector Nut
405 - Crankshaft Oil Deflector
406 - Oil Pump Locating Pin
407 - Oil Pump Shaft
408 - Oil Pump
409 - Oil Pump Bolt
413 - Oil Level Indicator Tube
414 - Oil Level Indicator Tube Bolt
415 - Oil Level Indicator
416 - Oil Pan Drain Plug Seal
417 - Oil Level Indicator Seal
426 - Oil Pan Bolt - Side of Pan