Operation CHARM: Car repair manuals for everyone.
Manuals through 2025 now available!

Our trusted friends have launched a new website named LEMON, which has newer manuals. It also contains all the CHARM manuals.

LEMON is the spiritual successor to CHARM, I recommend you try it!

Link: lemon-manuals.la or lemon-manuals.org.ua

(Some people have issue connecting. LEMON is investigating. For now, use Firefox or change your DNS server)

Or, hide this message: temporarily or permanently

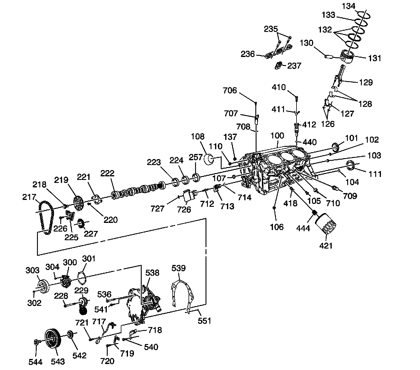
Engine Block and Components



Engine Block and Components





100 - Engine Block
101 - Camshaft Rear Bearing Hole Plug
102 - Engine Block Oil Gallery Plug - Rear - Large
103 - Engine Block Oil Gallery Plug - Rear - Small
104 - Transmission Locating Pin
105 - Engine Block Coolant Drain Hole Plug
106 - Oil Filter Bypass Hole Plug
107 - Engine Block Oil Gallery Plug - Front - Press Fit
108 - Engine Block Plug
110 - Engine Block Oil Gallery Plug - Front - Small
111 - Crankshaft Rear Oil Seal
126 - Connecting Rod Bearing Cap Nut
127 - Connecting Rod Bearing Cap
128 - Connecting Rod Bearing
129 - Connecting Rod
130 - Piston Pin
131 - Piston
132 - Piston Ring - Oil Control
133 - Piston Ring - Compression - Lower
134 - Piston Ring - Compression - Upper
137 - Engine Block Oil Gallery Plug - Front - Large
217 - Timing Chain
218 - Camshaft Sprocket Bolt
219 - Camshaft Sprocket
220 - Camshaft Thrust Plate Bolt
221 - Camshaft Thrust Plate
222 - Camshaft
223 - Camshaft Bearing - 1
224 - Camshaft Bearing - 2 and 3
225 - Timing Chain Dampener
226 - Timing Chain Dampener Bolt
227 - Crankshaft Sprocket
228 - Drive Belt Tensioner Bolt
229 - Drive Belt Tensioner
235 - Valve Lifter Guide Bolt
236 - Valve Lifter Guide
237 - Valve Lifter
257 - Camshaft Bearing - 4
300 - Water Pump
301 - Water Pump Gasket
302 - Water Pump Pulley Bolt
303 - Water Pump Pulley
304 - Water Pump Bolt
410 - Oil Pump Drive Bolt
411 - Oil Pump Drive Clamp
412 - Oil Pump Drive
418 - Oil Filter Bypass Valve
421 - Oil Filter
440 - Oil Pump Drive Seal
444 - Oil Filter Fitting
536 - Engine Front Cover Bolt - Large
538 - Engine Front Cover
539 - Engine Front Cover Gasket
540 - Engine Front Cover Bolt - Small
541 - Engine Front Cover Bolt - Medium
542 - Crankshaft Front Oil Seal
543 - Crankshaft Balancer
544 - Crankshaft Balancer Bolt
551 - Front Cover Locating Pins
706 - Camshaft Position Sensor Bolt
707 - Camshaft Position Sensor
708 - Camshaft Position Sensor Seal
709 - Engine Oil Pressure Sensor
710 - Knock Sensor
712 - Crankshaft Position Sensor Stud
713 - Crankshaft Position Sensor - Engine Block
714 - Crankshaft Position Sensor Seal
717 - Crankshaft Position Sensor - Front Cover
718 - Crankshaft Position Sensor Wire Harness Bracket - Small
719 - Crankshaft Position Sensor Wire Harness Bracket - Large
720 - Crankshaft Position Sensor Wire Harness Bracket Bolt
721 - Crankshaft Position Sensor Bolt - Front Cover
726 - Crankshaft Position Sensor Heat Shield
727 - Crankshaft Position Sensor Heat Shield Nut