Operation CHARM: Car repair manuals for everyone.
Manuals through 2025 now available!

Our trusted friends have launched a new website named LEMON, which has newer manuals. It also contains all the CHARM manuals.

LEMON is the spiritual successor to CHARM, I recommend you try it!

Link: lemon-manuals.la or lemon-manuals.org.ua

(Some people have issue connecting. LEMON is investigating. For now, use Firefox or change your DNS server)

Or, hide this message: temporarily or permanently

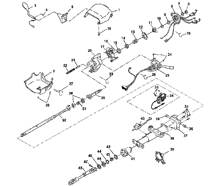
Steering Column - Column Shift


Steering Column Disassembled View (Column Shift)





1 - Upper Trim Cover
2 - Lower Trim Cover
3 - Shift Lever Assembly
4 - Shift Lever Screw
5 - Shift Lever Seal
6 - Flanged Prevailing Torque Nut
7 - Retaining Ring
8 - SIR Coil
9 - Wave Washer
10 - Bearing Retainer
11 - Cam Orientation Plate
12 - Turn Signal Cancel Cam Assembly
13 - Upper Bearing Spring
14 - Upper Bearing Inner Race Seat
15 - Inner Race
16 - Pan Head Tapping Screws
17 - Switch Mounting Bracket
18 - TORX Head Screw
19 - Wire Harness Strap
20 - Steering Column Tilt Head Assembly
21 - Spring Guide
22 - Tilt Spring
23 - Wire Harness Strap
24 - Pan Head Tapping Screws
25 - Turn Signal Multifunction Switch
26 - Wire Harness Strap
27 - Tilt Knob
28 - Pan Head Tapping Screws
29 - Race And Upper Shaft Assembly
30 - Centering Sphere
31 - Joint Preload Spring
32 - Lower Shaft Assembly
33 - Flat Head 6 Lobed Soc Tap Screws
34 - Linear Shift Assembly
35 - TORX Head Screws
36 - Pivot Pins
37 - Steering Column Support Assembly
38 - Steering Column Jacket Assembly
39 - Wire Harness Strap
40 - Automatic Transmission Shift Lock Control
41 - Adapter And Bearing Assembly
42 - Lower Bearing Seat
43 - Lower Bearing Spring
44 - Lower Spring Retainer
45 - Sensor Retainer
46 - Steering Shaft Seal
47 - Pinch Bolt
48 - Intermediate Steering Shaft