Operation CHARM: Car repair manuals for everyone.
Manuals through 2025 now available!

Our trusted friends have launched a new website named LEMON, which has newer manuals. It also contains all the CHARM manuals.

LEMON is the spiritual successor to CHARM, I recommend you try it!

Link: lemon-manuals.la or lemon-manuals.org.ua

(Some people have issue connecting. LEMON is investigating. For now, use Firefox or change your DNS server)

Or, hide this message: temporarily or permanently

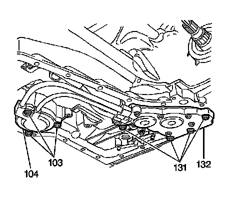
Accumulator: Service and Repair


Accumulator and 2-1 Manual Servo Replacement

Removal Procedure
1. Raise and support the vehicle. Refer to Vehicle Lifting.
2. Remove the filter.





3. Remove the accumulator bolts (131).
4. Remove the manual 2-1 band servo cover bolts (103).





5. Remove the accumulator assembly.





6. Remove the manual 2-1 band servo (106-116).

Installation Procedure





1. Install the manual 2-1 band servo (106-116).





2. Install the accumulator assembly.





Notice: Refer to Fastener Notice in Service Precautions.

3. Install the manual 2-1 band servo cover bolts (103).
Tighten the bolts to 25 Nm (18 ft. lbs.).
4. Install the accumulator cover bolts (131).
Tighten the bolts to 12 Nm (106 inch lbs.).
5. Install the filter.
6. Lower the vehicle.