Operation CHARM: Car repair manuals for everyone.
Manuals through 2025 now available!

Our trusted friends have launched a new website named LEMON, which has newer manuals. It also contains all the CHARM manuals.

LEMON is the spiritual successor to CHARM, I recommend you try it!

Link: lemon-manuals.la or lemon-manuals.org.ua

(Some people have issue connecting. LEMON is investigating. For now, use Firefox or change your DNS server)

Or, hide this message: temporarily or permanently

Vehicle Lifting: Service and Repair



LIFTING AND JACKING THE VEHICLE

CAUTION:
- To avoid any vehicle damage, serious personal injury or death when major components are removed from the vehicle and the vehicle is supported by a hoist, support the vehicle with jack stands at the opposite end from which the components are being removed.
- To avoid any vehicle damage, serious personal injury or death, always use the jackstands to support the vehicle when lifting the vehicle with a jack.


NOTE: Perform the following steps before beginning any vehicle lifting or jacking procedure:
- Remove or secure all of the vehicle's contents in order to avoid any shifting or any movement that may occur during the vehicle lifting or jacking procedure.
- The lifting equipment or the jacking equipment weight rating must meet or exceed the weight of the vehicle and any vehicle contents.
- The lifting equipment or the jacking equipment must meet the operational standards of the lifting equipment or jacking equipment's manufacturer.
- Perform the vehicle lifting or jacking procedure on a clean, hard, dry, level surface.
- Perform the vehicle lifting or jacking procedure only at the identified lift points. DO NOT allow the lifting equipment or jacking equipment to contact any other vehicle components.

Failure to perform the previous steps could result in damage to the lifting equipment or the jacking equipment, the vehicle, and/or the vehicle's contents.




AUTOMOTIVE LIFT AND FLOOR JACK CONTACT POINTS

VEHICLE LIFTING-FRAME CONTACT LIFT

Front Lift Pads




When lifting the vehicle with a frame-contact lift, place the front lift pads at the front pinchweld flanges.

Rear Lift Pads




When lifting the vehicle with a frame-contact lift, place the rear lift pads at the rear pinchweld flanges.

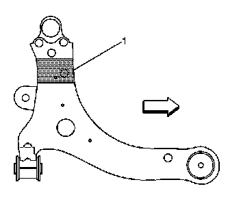
VEHICLE LIFTING-SUSPENSION CONTACT LIFT




When lifting the vehicle with a suspension-contact lift, place the front post lift points at the lower control arms in the area shown (1). Lift the rear of the vehicle with the rear post lift points ONLY under the rear wheels.

VEHICLE JACKING

Under the Front Frame




When lifting the front of the vehicle with a floor jack, place the floor jack lift pad at the center of the front frame.

Under the Center of the Rear Suspension




Lift the rear of the vehicle by placing the floor jack lift pad at the center of the rear suspension.

Supporting the Vehicle with Jackstands

IMPORTANT: Place jackstands ONLY under strong and stable vehicle structures.