Operation CHARM: Car repair manuals for everyone.
Manuals through 2025 now available!

Our trusted friends have launched a new website named LEMON, which has newer manuals. It also contains all the CHARM manuals.

LEMON is the spiritual successor to CHARM, I recommend you try it!

Link: lemon-manuals.la or lemon-manuals.org.ua

(Some people have issue connecting. LEMON is investigating. For now, use Firefox or change your DNS server)

Or, hide this message: temporarily or permanently

Compressor Replacement

COMPRESSOR REPLACEMENT

TOOLS REQUIRED
J 39400-A Halogen Leak Detector

REMOVAL PROCEDURE
1. Recover refrigerant.
2. Remove the engine drive belt.
3. Raise the vehicle. Refer to Vehicle Lifting.




4. Remove the right front fender liner.
5. Remove the right radiator air deflector retainers.
6. Remove the right radiator air deflector.




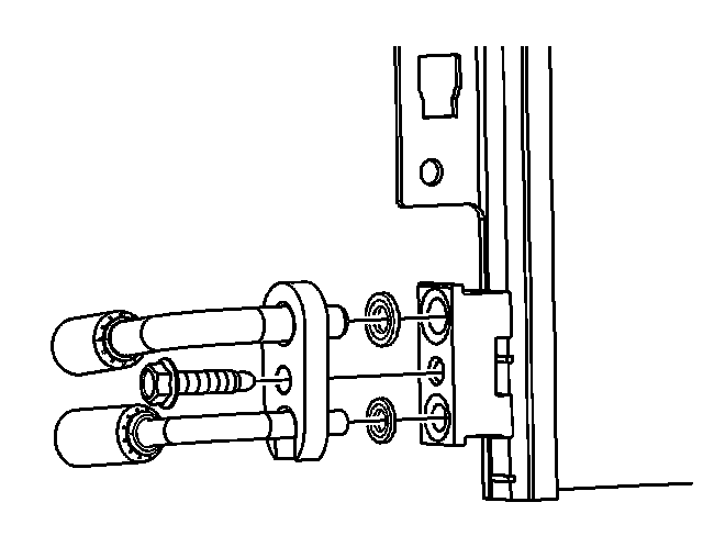
7. Remove the compressor hose nut from the compressor.
8. Remove the compressor hose from the compressor.




9. Remove the compressor hose and liquid line bolt from the condenser.
10. Remove the compressor hose from the condenser.
11. Remove the liquid line from the condenser.
12. Remove the compressor wire harness connector.
13. Remove the compressor mounting bolts.




14. Remove the compressor.

IMPORTANT: Cap all A/C components immediately to prevent system contamination.

15. Remove and discard the sealing washers.

INSTALLATION PROCEDURE

IMPORTANT: Use a low viscosity, poly-alkylene glycol (PAG) oil. Use of the incorrect oil can result in compressor failure.

1. If replacing the compressor, refer to Compressor Oil Balancing.
2. Uncap A/C components.
3. Install new sealing washers.
4. Install the compressor.

NOTE: Refer to Fastener Notice in Service Precautions.




5. Install the compressor mounting bolts.

Tighten
Tighten the bolts to 50 N.m (37 lb ft).

6. Install the compressor wire harness connector.




7. Install the liquid line to the condenser.
8. Install the compressor hose to the condenser.
9. Install the compressor hose and liquid line bolt to the condenser.

Tighten
Tighten the bolt to 20 N.m (15 lb ft).




10. Install the compressor hose to the compressor
11. Install the compressor hose nut to the compressor.

Tighten
Tighten the nut to 20 N.m (15 lb ft).

IMPORTANT: Radiator air deflectors must be properly installed or reduced A/C and engine cooling system performance could occur.




12. Install the right radiator air deflector.
13. Install the right radiator air deflector retainers.
14. Install the right front fender liner.
15. Lower the vehicle.
16. Install the engine drive belt.
17. Evacuate and charge the refrigerant system. Refer to Refrigerant Recovery and Recharging.
18. Leak test the fittings using the J 39400-A.