Operation CHARM: Car repair manuals for everyone.
Manuals through 2025 now available!

Our trusted friends have launched a new website named LEMON, which has newer manuals. It also contains all the CHARM manuals.

LEMON is the spiritual successor to CHARM, I recommend you try it!

Link: lemon-manuals.la or lemon-manuals.org.ua

(Some people have issue connecting. LEMON is investigating. For now, use Firefox or change your DNS server)

Or, hide this message: temporarily or permanently

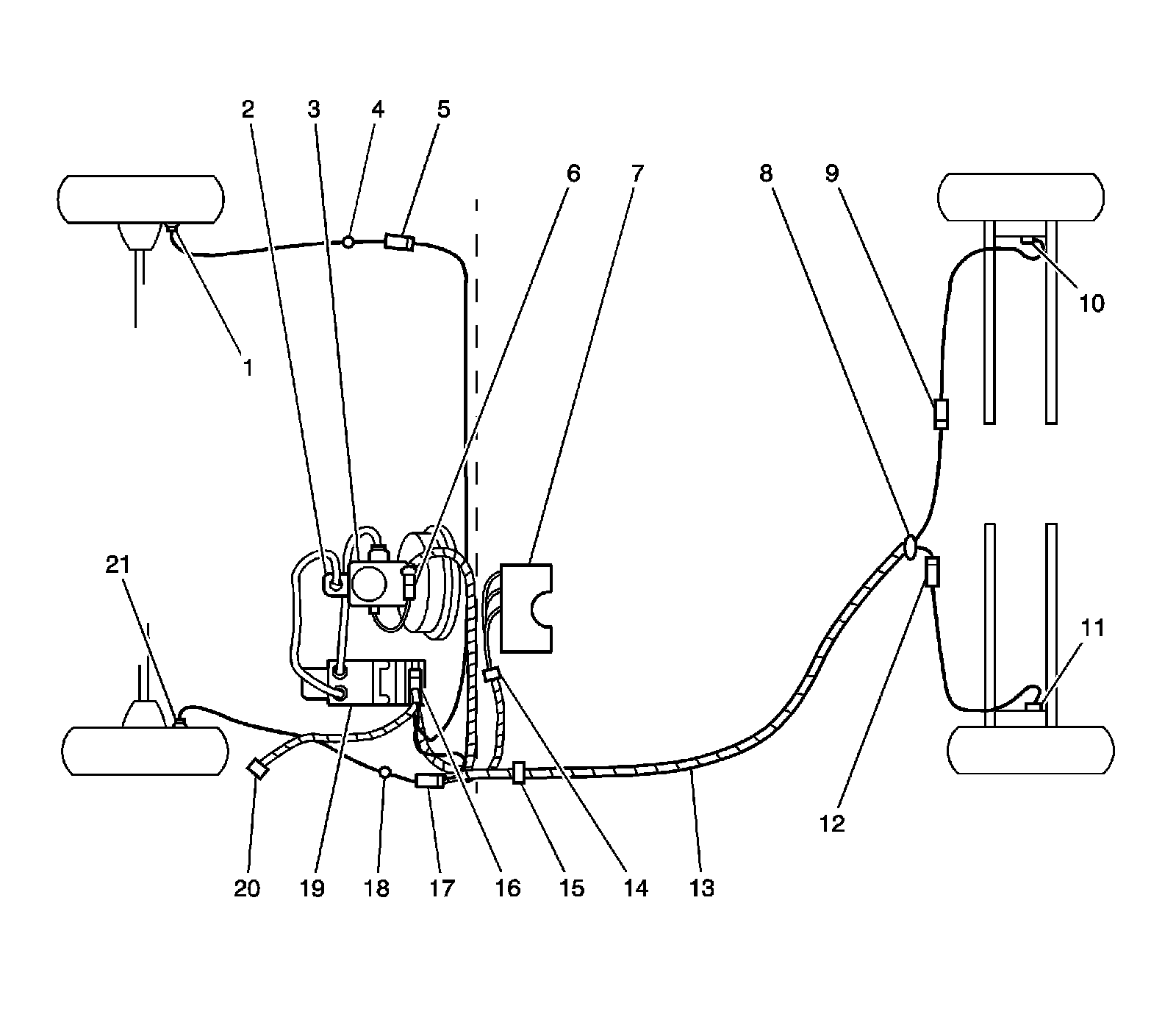
Antilock Brakes / Traction Control Systems: Locations




Antilock Brake System Component Views

Harness Routing





1 - Right Front Wheel Speed Sensor

2 - Brake Master Cylinder

3 - Master Cylinder Reservoir

4 - Grommet

5 - Right Front Wheel Speed Sensor Connector

6 - Brake Fluid Level Switch Connector

7 - Instrument Cluster

8 - Connector C901

9 - Right Rear Wheel Speed Sensor Connector

10 - Right Rear Wheel Speed Sensor

11 - Left Rear Wheel Speed Sensor

12 - Left Rear Wheel Speed Sensor Connector

13 - Body Wiring Harness

14 - Connector C202

15 - Connectors C110

16 - EBCM Connector

17 - Left Front Speed Sensor Connector

18 - Grommet

19 - Hydraulic Modulator with Attached EBCM

20 - Connector C107

21 - Left Front Wheel Speed Sensor

Electronic Brake Control Module (EBCM)





1 - Electronic Brake Control Module (EBCM)

2 - Oil Feeding Connector

Wheel Speed Sensor (WSS)





1 - Wheel Speed Sensor (WSS)- Left Front Shown, Right Similar

2 - Wheel Speed Sensor (WSS)- Left Rear Shown, Right Similar