Operation CHARM: Car repair manuals for everyone.
Manuals through 2025 now available!

Our trusted friends have launched a new website named LEMON, which has newer manuals. It also contains all the CHARM manuals.

LEMON is the spiritual successor to CHARM, I recommend you try it!

Link: lemon-manuals.la or lemon-manuals.org.ua

(Some people have issue connecting. LEMON is investigating. For now, use Firefox or change your DNS server)

Or, hide this message: temporarily or permanently

Hydraulic System: Locations




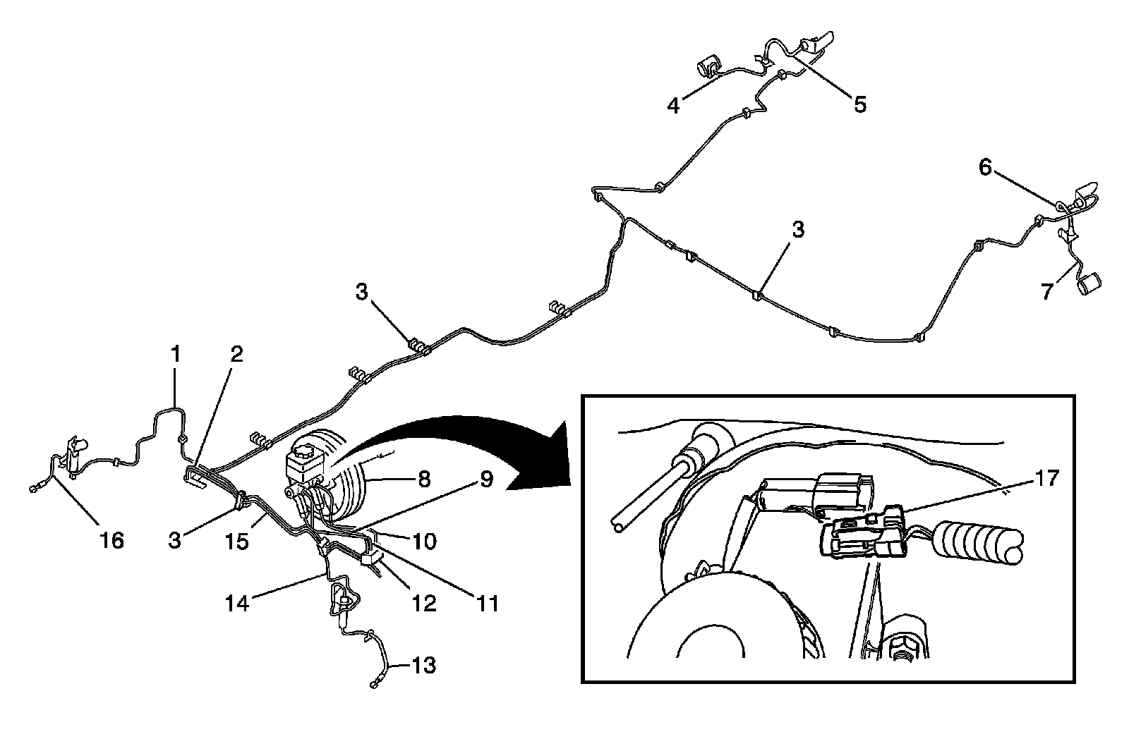
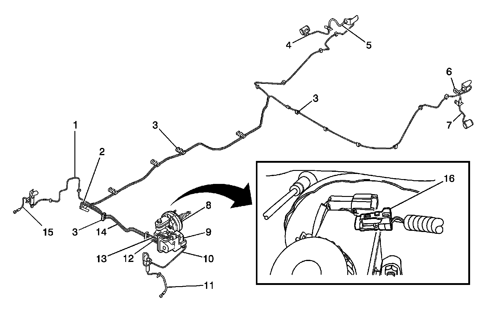
Hydraulic Brake Component Views

ABS





1 - 2nd Front Brake Pipe

2 - 2nd Rear Brake Pipe (A)

3 - Clip

4 - Right Hand 3rd Rear Brake Pipe

5 - Right Hand Rear Brake Hose

6 - Left Hand Rear Brake Hose

7 - Left Hand 3rd Rear Brake Pipe

8 - Left Hand Drive Master Cylinder/Booster Assembly

9 - ABS Brake Pressure Modulator Valve

10 - Front Brake Pipe

11 - Left Hand Front Brake Hose

12 - 1st Rear Brake Pipe (B)

13 - 1st Rear Brake Pipe (A)

14 - 2nd Rear Brake Pipe (B)

15 - Right Hand Front Brake Hose

16 - Brake Fluid Level Switch

Non-ABS





1 - 2nd Front Brake Pipe

2 - 2nd Rear Brake Pipe

3 - Clip

4 - Right Hand 3rd Rear Brake Pipe

5 - Right Hand Rear Brake Hose

6 - Left Hand Rear Brake Hose

7 - Left Hand 3rd Rear Brake Pipe

8 - Left Hand Drive Master Cylinder/Booster Assembly

9 - 1st Rear Brake Pipe (B)

10 - 1st Front Brake Pipe

11 - 1st Rear Brake Pipe (A)

12 - Connector

13 - Left Hand Front Brake Hose

14 - Front Brake Pipe

15 - 2nd Rear Brake Pipe

16 - Right Hand Front Brake Hose

17 - Brake Fluid Level Switch

Park Brake Switch





1 - Park Brake Switch