Operation CHARM: Car repair manuals for everyone.
Manuals through 2025 now available!

Our trusted friends have launched a new website named LEMON, which has newer manuals. It also contains all the CHARM manuals.

LEMON is the spiritual successor to CHARM, I recommend you try it!

Link: lemon-manuals.la or lemon-manuals.org.ua

(Some people have issue connecting. LEMON is investigating. For now, use Firefox or change your DNS server)

Or, hide this message: temporarily or permanently

Alignment: Description and Operation

Caster Description





Caster is the tilting of the uppermost point of the steering axis either forward or backward, when viewed from the side of the vehicle. A backward tilt is positive (+) and a forward tilt is negative (-). Caster influences directional control of the steering but does not affect the tire wear. Caster is affected by, the vehicle height, therefore it is important to keep the body at its designed height. Overloading the vehicle or a weak or sagging rear spring will affect caster. When the rear of the vehicle is lower than its designated trim height, the front suspension moves to a more positive caster. If the rear of the vehicle is higher than its designated trim height, the front suspension moves to a less positive caster.

With too little positive caster, steering may be touchy at high speed and wheel returnability may be diminished when coming out of a turn. If one wheel has more positive caster than the other, that wheel Will pull toward the center of the vehicle. This condition will cause the vehicle to pull or lead to the side with the least amount of positive caster.

Camber Description





Camber is the tilting of the wheels from the vertical when viewed from the front of the vehicle. When the wheels tilt outward at the top, the camber is positive (+). When the wheel tilts inward at the top, the camber is negative (-). The amount of tilt is measured in degrees from the vertical. Camber settings influence the directional control and the tire wear.

Too much positive camber will result in premature wear on the outside of the tire and cause excessive wear on the suspension parts.

Too much negative camber will result in premature wear on the inside of the tire and cause excessive wear on the suspension parts.

Unequal side-to-side camber of 1 degree or more will cause the vehicle to pull or lead to the side with the most positive camber.

Toe Description





Toe is a measurement of how much the front and/or rear wheels are turned in or out from a straight-ahead position. When the wheels are turned in, toe is positive (+). When the wheels are turned out, toe is negative (-). The actual amount of toe is normally only a fraction of a degree. The purpose of toe is to ensure that the wheels roll parallel.

Toe also offsets the small deflections of the wheel support system that occur when the vehicle is rolling forward. In other words, with the vehicle standing still and the wheels set with toe-in, the wheels tend to roll parallel on the road when the vehicle is moving.

Improper toe adjustment will cause premature tire wear and cause steering instability.

Setback Description
Setback applies to both the front and the rear wheels. Setback is the amount that one wheel may be aligned behind the other wheel. Setback may be the result of a road hazard or a collision. The first clue is a caster difference from side-to-side of more than 1 degree.

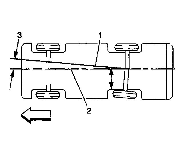
Thrust Angles Description





The front wheels aim or steer the vehicle. The rear wheels control tracking. This tracking action relates to the thrust angle (3). The thrust angle is the path that the rear wheels take. Ideally, the thrust angle is geometrically aligned with the body centerline (2).

In the illustration, toe-in is shown on the left rear wheel, moving the thrust line (1) off center. The resulting deviation from the centerline is the thrust angle.

Lead/Pull Description
Definition: At a constant highway speed on a typical straight road, lead/pull is the amount of effort required at the steering wheel to maintain the vehicle's straight path.

Lead/pull is usually caused by the following factors:
^ Tire construction
^ Wheel alignment
^ Unbalanced steering gear The way in which a tire is built may produce lead/pull. The rear tires will not cause lead.

Memory Steer Description
Memory steer is when the vehicle wants to lead or pull in the direction the driver previously turned the vehicle. Additionally, after turning in the opposite direction, the vehicle will want to lead or pull in that direction.

Wander Description
Wander is the undesired drifting or deviation of a vehicle to either side from a straight path with hand pressure on the steering wheel. Wander is a symptom of the vehicle's sensitivity to external disturbances, such as road crown and crosswind, and accentuated by poor on-center steering feel.

Scrub Radius Description
Ideally, the scrub radius is as small as possible. Normally, the SAI angle and the centerline of the tire and the wheel intersect below the road surface, causing a positive scrub radius. With struts, the SAI angle is much larger than the long arm/short arm type of suspension. This allows the SAI angle to intersect the camber angle above the road surface, forming a negative scrub radius. The smaller the scrub radius, the better the directional stability. Installing aftermarket wheels that have additional offset will dramatically increase the scrub radius. The newly installed wheels may cause the centerline of the tires to move further away from the spindle. This will increase the scrub radius.

A large amount of scrub radius can cause severe shimmy after hitting a bump. Four-wheel drive vehicles with large tires use a steering damper to compensate for an increased scrub radius. Scrub radius is not directly measurable by the conventional methods. Scrub radius is projected geometrically by engineers during the design phase of the suspension.