Operation CHARM: Car repair manuals for everyone.
Manuals through 2025 now available!

Our trusted friends have launched a new website named LEMON, which has newer manuals. It also contains all the CHARM manuals.

LEMON is the spiritual successor to CHARM, I recommend you try it!

Link: lemon-manuals.la or lemon-manuals.org.ua

(Some people have issue connecting. LEMON is investigating. For now, use Firefox or change your DNS server)

Or, hide this message: temporarily or permanently

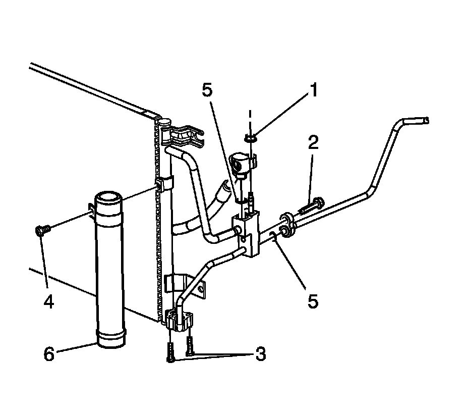
Receiver Dryer: Service and Repair



RECEIVER DEHYDRATOR REPLACEMENT

REMOVAL PROCEDURE

IMPORTANT: Cap or tape the open air conditioning (A/C) lines immediately in order to prevent system contamination.




1. Remove the A/C condenser.
2. Cap or tape the open A/C lines.
3. Remove the receiver dehydrator upper bracket screw (4).
4. Remove the receiver dehydrator lower bolts (3).
5. Remove the receiver dehydrator.
6. Remove and discard the receiver dehydrator lower sealing washers.
7. Cap or tape the condenser lower openings.

INSTALLATION PROCEDURE




1. If replacing the receiver dehydrator, add the specified amount of PAG oil directly to the receiver dehydrator. Refer to Refrigerant System Capacities.
2. Remove the cap or tape from the condenser lower openings.
3. Install NEW lower receiver dehydrator sealing washers.
4. Install the receiver dehydrator.
5. Install the receiver dehydrator lower bolts (3).

Tighten the bolts to 16 N.m (12 lb ft).

NOTE: Refer to Fastener Notice in Service Precautions.

6. Install the receiver dehydrator upper bracket screw (4).

Tighten the bolt to 16 N.m (12 lb ft).

7. Remove the caps or tape from the open A/C lines.
8. Install the A/C condenser.