Operation CHARM: Car repair manuals for everyone.
Manuals through 2025 now available!

Our trusted friends have launched a new website named LEMON, which has newer manuals. It also contains all the CHARM manuals.

LEMON is the spiritual successor to CHARM, I recommend you try it!

Link: lemon-manuals.la or lemon-manuals.org.ua

(Some people have issue connecting. LEMON is investigating. For now, use Firefox or change your DNS server)

Or, hide this message: temporarily or permanently

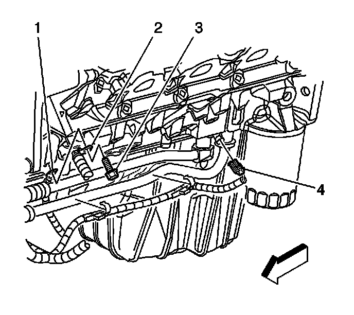
Knock Sensor (KS) 1 Replacement



KNOCK SENSOR (KS) 1 REPLACEMENT

REMOVAL PROCEDURE




1. Drain the cooling system/engine block. Refer to Draining and Filling Cooling System in Cooling System.
2. Disconnect the knock sensor electrical connector (4).




3. Remove the knock sensor.

INSTALLATION PROCEDURE




1. Install the knock sensor.

NOTE: Refer to Fastener Notice in Service Precautions.

Tighten the sensor to 20 N.m (15 lb ft)




2. Connect the knock sensor electrical connector (4).
3. Fill the cooling system/engine block. Refer to Draining and Filling Cooling System in Cooling System.