Operation CHARM: Car repair manuals for everyone.
Manuals through 2025 now available!

Our trusted friends have launched a new website named LEMON, which has newer manuals. It also contains all the CHARM manuals.

LEMON is the spiritual successor to CHARM, I recommend you try it!

Link: lemon-manuals.la or lemon-manuals.org.ua

(Some people have issue connecting. LEMON is investigating. For now, use Firefox or change your DNS server)

Or, hide this message: temporarily or permanently

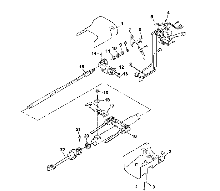
Steering Column Disassembled View (Floor Shift Standard)



Steering Column Disassembled View (Floor Shift Standard)

(Floor Shift Standard):





1 - Upper Trim Cover
2 - Lower Trim Cover
3 - Shoulder Tapping Screws
4 - Pan Head Tapping Screws
5 - Multifunction Switch Assembly
6 - Washer Head Screws
7 - Switch Mounting Plate
8 - Bearing Retainer
9 - Spring Retainer
10 - Upper Bearing Spring
11 - Inner Race Seat
12 - Ignition Switch and Lock Housing Assembly
13 - Set Screws
14 - Shear Bolt and Washer Assembly
15 - Steering Shaft Assembly
16 - Steering Column Jacket Assembly
17 - Lower Column Support Bracket
18 - Lower Bracket Retainer Spacer
19 - Washer and Bolt Assembly
20 - Lower Shaft Bearing Assembly
21 - Bolt and Retainer Assembly
22 - Upper Steering Shaft Assembly