Operation CHARM: Car repair manuals for everyone.
Manuals through 2025 now available!

Our trusted friends have launched a new website named LEMON, which has newer manuals. It also contains all the CHARM manuals.

LEMON is the spiritual successor to CHARM, I recommend you try it!

Link: lemon-manuals.la or lemon-manuals.org.ua

(Some people have issue connecting. LEMON is investigating. For now, use Firefox or change your DNS server)

Or, hide this message: temporarily or permanently

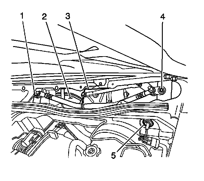
Wiper Motor: Service and Repair



WIPER MOTOR REPLACEMENT

TOOLS REQUIRED
- J 39232 Wiper Linkage Separator
- J 39529 Wiper Linkage Installer

REMOVAL PROCEDURE
1. Place the wiper arms in the 1/2 wipe position.
2. Turn the ignition key to the OFF position.




3. Remove the wiper arms.
4. Remove the air inlet grille panel.




5. Remove the wiper transmission (3).
6. Using the J 39232, separate the transmission link from the wiper motor crank arm ball stud.
7. Remove the fasteners from the wiper motor to the frame assembly.
8. Remove the wiper motor.

INSTALLATION PROCEDURE
1. Install the wiper motor onto the wiper transmission frame.
2. Install the bolts in order to secure the motor to the frame.

NOTE: Refer to Fastener Notice in Service Precautions.

Tighten the wiper motor mounting bolts to 9 N.m (81 lb in).




3. Install the transmission drive link socket onto the crank arm ball of the wiper motor using the J 39529.

IMPORTANT: Lubricate the socket with Multi-Purpose Lubricant, Superlube, GM P/N 12346241 (Canadian P/N 10953474) or equivalent.




4. Install the wiper transmission (3) to the plenum.