Operation CHARM: Car repair manuals for everyone.
Manuals through 2025 now available!

Our trusted friends have launched a new website named LEMON, which has newer manuals. It also contains all the CHARM manuals.

LEMON is the spiritual successor to CHARM, I recommend you try it!

Link: lemon-manuals.la or lemon-manuals.org.ua

(Some people have issue connecting. LEMON is investigating. For now, use Firefox or change your DNS server)

Or, hide this message: temporarily or permanently

Back Window Glass: Service and Repair



Rear Window Replacement

Tools Required
* J 24402-A Glass Sealant Cold Knife Remover
* J 39032 Stationary Glass Removal Tool
* J 34940 Rivet Gun
* Urethane Adhesive Kit GM P/N 12346392 or Equivalent
* Isopropyl Alcohol or Equivalent
* Cartridge-Type Caulking Gun
* Commercial-Type Utility Knife
* Razor Blade Scraper
* Suction Cups
* Plastic Paddle

Removal Procedure

1. Remove the rear seat.

Important: Before cutting out a stationary window, apply a double layer of masking tape around the perimeter of the painted surfaces and the inner trim of the window.

2. Remove the body side trim panel, for extended cab pickup only.
3. Remove the rear child seat belt anchor brackets.

Caution: If broken glass falls into the defroster outlets, it can be blown into the passenger compartment and cause personal injury.

4. Cover to protect the following parts from broken glass:

* The upper dash pad
* The defroster outlets and A/C outlets
* The seats and carpeting

5. If the glass is already broken, use the J 24402-A in order to remove the window.





Important:
* Keep the cutting edge of the tool against the window from inside the vehicle. This will allow the urethane adhesive to be separated from the window.

* Leave a base of urethane on the pinchweld flange.

* The only suitable lubrication is clear water.

* Use the J 24402-A, J 39032 or equivalent in order to remove the window.

With the aid of an assistant, lift the rear window from the opening.




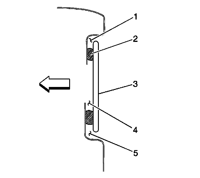
7. Use body color paint and apply to any scratches exterior (1, 5) of the urethane adhesive bead (2).

Installation Procedure

1. Install a stationary window into the opening.
2. Install the rear child seat belt anchor brackets.
3. Install the body side trim panel, for extended cab pickup only.
4. Install the rear seat.
5. Remove the double layer of masking tape around the perimeter of the painted surfaces and the interior trim.