Operation CHARM: Car repair manuals for everyone.
Manuals through 2025 now available!

Our trusted friends have launched a new website named LEMON, which has newer manuals. It also contains all the CHARM manuals.

LEMON is the spiritual successor to CHARM, I recommend you try it!

Link: lemon-manuals.la or lemon-manuals.org.ua

(Some people have issue connecting. LEMON is investigating. For now, use Firefox or change your DNS server)

Or, hide this message: temporarily or permanently

Lumbar Pump Replacement



LUMBAR PUMP REPLACEMENT

REMOVAL PROCEDURE
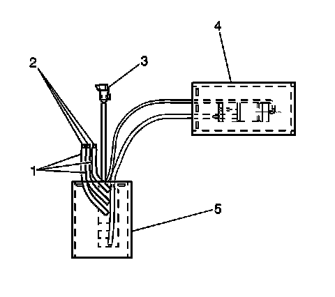
The lumbar pump and control module are separate units that are attached to each other by a wire harness and a hose. They are supplied and replaced as an assembly. The lumbar pump is contained in a vinyl pouch under the seat and is tie strapped to the seat adjuster torque tube. The attached control module is contained in a vinyl pouch and is secured with J strips to the bottom of the seat support springs. The service part is supplied with connector fittings and the air hoses are labeled #3, #4,and #5 to aid in assembly.




1. Raise the seat to the full up position.
2. Remove the seat.
3. Remove the seat cushion cover.




4. Remove the tie straps attaching the pump to the torque tube (4) under the seat.
5. Remove the control module by unhooking the J strips from the seat cushion support wires.




6. Disconnect the electrical connector.
7. Reposition the pump and the lumbar control module from under the seat support wires to on top of the seat support wires.




8. Cut the control module to bladder air hoses (1) 75 mm (3 in) from the control module (5).
9. Remove the pump (4) and the control module (5) as an assembly.

INSTALLATION PROCEDURE




1. Lay the new pump and control module assembly on top of the seat spring assembly.
2. Apply a very small amount of air (blow into the hose) to each of the three lumbar bladder hoses that were cut in step 8.
- If the upper lumbar inflates, use the procedure in step three to connect that hose to the hose labeled #3 on the new pump.
- If the lower lumbar inflates, use the procedure in step three to connect that hose to the hose labeled #4 on the new pump.
- If the bolsters inflate, use the procedure in step three to connect that hose to the hose labeled #5 on the new pump.




3. Using Loctite 406, or equivalent, glue each hose to the fitting (2) in the module hose.
1. Position the hose so it is just over the edge of the barb on the attaching fitting.
2. Apply the adhesive completely around the fitting.
3. Quickly push the hose the rest of the way onto the fitting.




4. Insert the pump and the control module down under the seat support wires.
5. Attach the control module with the J strips facing outward to the underside of the seat cushion support wires.
6. Connect the electrical connector to the control module.
7. Tie strap the pump to the torque tube (4) under the front of the seat.




8. Install the seat cushion trim cover.
9. Install the seat.