Operation CHARM: Car repair manuals for everyone.
Manuals through 2025 now available!

Our trusted friends have launched a new website named LEMON, which has newer manuals. It also contains all the CHARM manuals.

LEMON is the spiritual successor to CHARM, I recommend you try it!

Link: lemon-manuals.la or lemon-manuals.org.ua

(Some people have issue connecting. LEMON is investigating. For now, use Firefox or change your DNS server)

Or, hide this message: temporarily or permanently

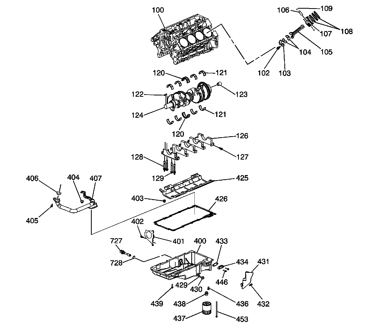
Lower Engine Assembly



Disassembled Views





100 - Engine Block
102 - Bolt
103 - Connecting Rod Cap
104 - Connecting Rod Bearings
105 - Connecting Rod
106 - Piston Pin
107 - Piston
108 - Piston Rings
109 - Piston Pin Retainer
120 - Crankshaft Thrust Bearing
120 - Crankshaft Thrust Bearing
121 - Crankshaft Main Bearing
121 - Crankshaft Main Bearing
122 - Crankshaft Sprocket Key
123 - Transmission Pilot Bearing - Manual Transmission
124 - Crankshaft
126 - Crankshaft Bearing Cap
127 - Bolt - M8
128 - Stud - M10
129 - Bolt - M10
400 - Oil Pan
401 - Engine Closeout Cover - Right
402 - Bolt
403 - Nut
404 - Nut
405 - Bolt
406 - O-Ring
407 - Oil Pump Screen
425 - Crankshaft Oil Deflector
426 - Oil Pan Gasket
429 - O-Ring
430 - Oil Pan Drain Plug
431 - Engine Closeout Cover - Left
432 - Bolt
433 - Oil Pan Cover Gasket
434 - Oil Pan Cover
436 - Oil Filter Bypass Valve
437 - Oil Filter
438 - Oil Filter Fitting
439 - Bolt
446 - Bolt
453 - Bolt
727 - Oil Level Sensor
728 - O-Ring