Operation CHARM: Car repair manuals for everyone.
Manuals through 2025 now available!

Our trusted friends have launched a new website named LEMON, which has newer manuals. It also contains all the CHARM manuals.

LEMON is the spiritual successor to CHARM, I recommend you try it!

Link: lemon-manuals.la or lemon-manuals.org.ua

(Some people have issue connecting. LEMON is investigating. For now, use Firefox or change your DNS server)

Or, hide this message: temporarily or permanently

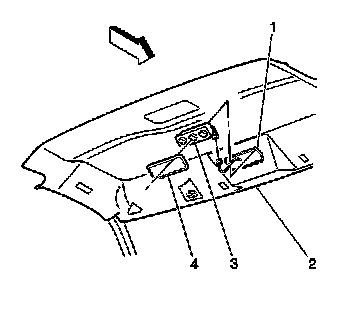
HVAC Control Assembly - Front Auxiliary



HVAC CONTROL ASSEMBLY REPLACEMENT - FRONT AUXILIARY

REMOVAL PROCEDURE




1. Remove the front control switch bezel (4) from the headliner.
2. Remove the front control switch (3) by unsnapping the retainers from the headliner.
3. Disconnect the electrical connector.

INSTALLATION PROCEDURE




1. Connect the electrical connector.
2. Install the front control switch (3) by snapping the retainers to the headliner.
3. Install the front control switch bezel (4) to the headliner.