Operation CHARM: Car repair manuals for everyone.
Manuals through 2025 now available!

Our trusted friends have launched a new website named LEMON, which has newer manuals. It also contains all the CHARM manuals.

LEMON is the spiritual successor to CHARM, I recommend you try it!

Link: lemon-manuals.la or lemon-manuals.org.ua

(Some people have issue connecting. LEMON is investigating. For now, use Firefox or change your DNS server)

Or, hide this message: temporarily or permanently

Electronic Brake Control Module Replacement (W/JL4)



Electronic Brake Control Module Replacement (w/JL4)
Removal Procedure

Important: After installation, calibrate the new electronic brake control module (EBCM) to the tire size that is appropriate to the vehicle.

1. Disconnect the negative battery cable. Refer to Battery Negative Cable Disconnect/Connect Procedure.
2. Raise and suitably support the vehicle. Refer to Lifting and Jacking the Vehicle.





Important: The area around the electric hydraulic control unit (EHCU) MUST be free from loose dirt to prevent contamination of disassembled ABS components.

Thoroughly wash all contaminants from around the EHCU.





3. For cutaway vehicles, remove the splash shield.
4. Disconnect the electrical connectors from the EBCM.





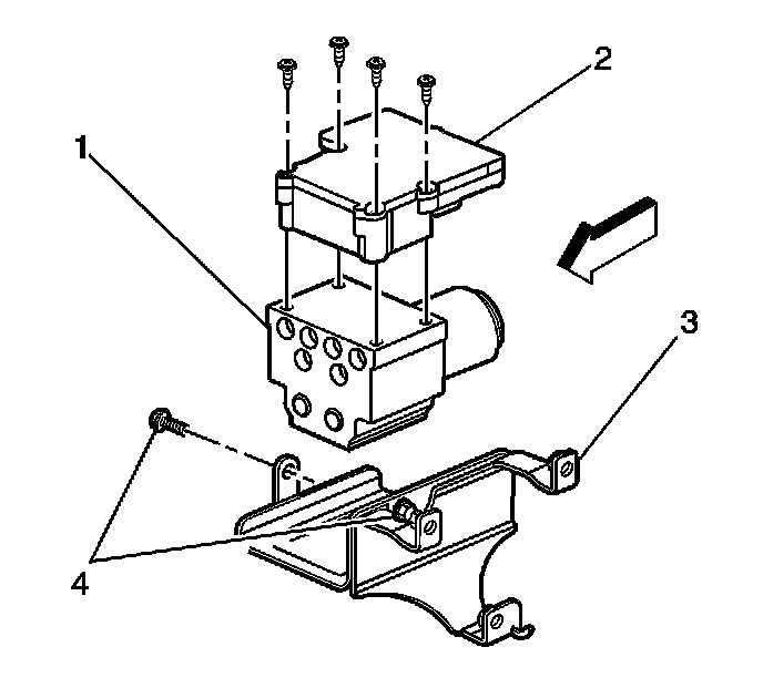
5. Remove the mounting screws that fasten the EBCM (2) to the BPMV (1).
6. Remove the EBCM (2) from the brake pressure modulator valve (BPMV) (1). Removal may require a light amount of force.
7. Clean the BPMV to EBCM mounting surfaces with a clean cloth.

Installation Procedure





Important: Do not use RTV or any other type of sealant on the EBCM gasket or mating surfaces.

1. Install the EBCM (2) on to the BPMV (1).

Notice: Refer to Fastener Notice in Service Precautions.

2. Install the screws to the EBCM (2).
Tighten the screws to 5 Nm (44 inch lbs.) in an X-pattern.





3. Connect the electrical connectors to the EBCM.





4. For cutaway vehicles, install the splash shield.
Tighten the splash shield bolts to 25 Nm (18 ft. lbs.).
5. Lower the vehicle.
6. Connect the negative battery cable. Refer to Battery Negative Cable Disconnect/Connect Procedure.
7. Revise the tire calibration using the Tire Size Calibration function.
8. Verify correct system operation. Refer to Diagnostic Starting Point - Antilock Brake System. Initial Inspection and Diagnostic Overview