Operation CHARM: Car repair manuals for everyone.
Manuals through 2025 now available!

Our trusted friends have launched a new website named LEMON, which has newer manuals. It also contains all the CHARM manuals.

LEMON is the spiritual successor to CHARM, I recommend you try it!

Link: lemon-manuals.la or lemon-manuals.org.ua

(Some people have issue connecting. LEMON is investigating. For now, use Firefox or change your DNS server)

Or, hide this message: temporarily or permanently

Ignition Switch: Service and Repair



Ignition and Start Switch Replacement

Tools Required
- J-42759 Ignition Switch Connector Release Tool

Removal Procedure

1. Disconnect the negative battery cable. Refer to Battery Negative Cable Disconnection and Connection, Service and Repair

Caution: Refer to SIR Caution, Technician Safety Information

2. Disable the SIR system. Refer to SIR Disabling and Enabling, Service and Repair
3. Remove the hush and knee bolster. Refer to Driver Knee Bolster Bracket Replacement, Service and Repair
4. Remove the steering column trim covers. Refer to Steering Column Trim Covers Replacement, Service and Repair
5. With the key installed, turn the key to the RUN position.






6. Install an allen wrench into the hole on top of the lock cylinder housing.
- Push down on the allen wrench to release the tab on the lock cylinder inside the lock cylinder housing.






7. Slide the lock cylinder out of the lock cylinder housing.
8. Disconnect the passlock and key buzzer from the lock cylinder housing.






9. Insert J-42759 into the lock cylinder housing to release the tabs on the ignition switch.
10. Pull the ignition switch out of the lock cylinder housing.
11. Disconnect the connector from the ignition switch.

Installation Procedure






Important: The gears between the ignition switch and the lock cylinder housing must be in the correct position. Failure to do so will cause a misalignment of the gears in the ignition switch and the lock cylinder housing, which may result in a NO START or BATTERY DRAIN.

1. Verify the alignment of the gear (1) in the ignition switch (2). If gear (1) not in position shown, turn gear in ignition switch (2) until you reach the correct position.






2. Use a screwdriver to rotate the lock cylinder housing gear counterclockwise until it hits a stop.
3. Connect the connector to the ignition switch.






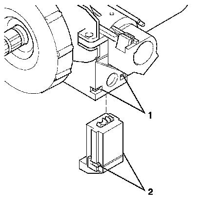
4. Insert the ignition switch into the lock cylinder housing. The tabs (2) on the ignition switch MUST be seated inside the lock cylinder housing (1) for proper installation.






5. Use a screwdriver to rotate the lock cylinder housing gear clockwise to the START position allowing it to spring return into the RUN position.






6. Align the lock cylinder and install the lock cylinder into the lock cylinder housing.
7. Connect the passlock and key buzzer into the lock housing.
8. Install the steering column trim covers. Refer to Steering Column Trim Covers Replacement, Service and Repair
9. Install the hush and knee bolster. Refer to Driver Knee Bolster Bracket Replacement, Service and Repair
10. Enable the SIR system. Refer to SIR Disabling and Enabling, Service and Repair
11. Connect the negative battery cable. Refer to Battery Negative Cable Disconnection and Connection, Service and Repair