Operation CHARM: Car repair manuals for everyone.
Manuals through 2025 now available!

Our trusted friends have launched a new website named LEMON, which has newer manuals. It also contains all the CHARM manuals.

LEMON is the spiritual successor to CHARM, I recommend you try it!

Link: lemon-manuals.la or lemon-manuals.org.ua

(Some people have issue connecting. LEMON is investigating. For now, use Firefox or change your DNS server)

Or, hide this message: temporarily or permanently

Front Wheel Alignment

Front Caster and Camber Adjustment
The caster and camber adjustments are made by loosening the lower control arm adjustment bolts and repositioning the lower control arm.

Important: Before adjusting the caster and camber angles, jounce the front bumper 3 times to allow the vehicle to return to normal height.

Measure and adjust the caster and the camber with the vehicle at curb height. The front suspension Z dimension and the rear suspension D dimension are indicated in Trim Heights.

1. For an accurate reading, do not push or pull on the tires during the alignment process.





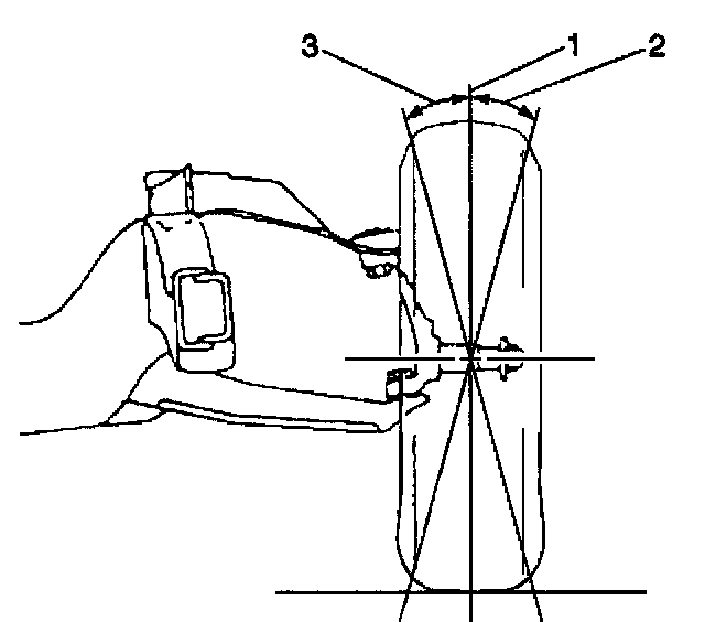
2. Determine the caster (2, 3) angle.





3. Determine the camber (2, 3) angle.





4. Loosen the lower control arm adjustment bolts (1).

Notice: Refer to Fastener Notice in Service Precautions.

5. Adjust the caster and the camber angle by repositioning the lower control arm (2) until the specifications have been met.
When the adjustments are complete, hold the lower control arm in position so that the specifications do not change while tightening the lower control arm adjustment bolts.
5.1. Tighten the front lower control arm bracket mounting bolts to 260 Nm (192 ft. lbs.).
5.2. Tighten the rear lower control arm bracket mounting bolts to 240 Nm (177 ft. lbs.).
6. Verify that the caster and the camber are still within specifications.
7. When the caster and camber are within specifications, adjust the toe.

Front Toe Adjustment





1. Loosen the jam nut on the outer tie rod (2).

Notice: Care must be taken that the boots are not twisted when rotating the inner tie rods, or damage to the boots may result.

2. Rotate the inner tie rod (1) to the required toe specification setting.

Notice: Refer to Fastener Notice in Service Precautions.

3. Tighten the jam nut on the outer tie rod.
Tighten the outer tie rod jam nut to 75 Nm (55 ft. lbs.).
4. Check the toe setting after tightening.
5. Re-adjust the toe setting if necessary.