Operation CHARM
: Car repair manuals for everyone.
Home
>>
Chevrolet
>>
2009
>>
Colorado 2WD V8-5.3L
>>
Repair and Diagnosis
>>
Specifications
>>
Mechanical Specifications
>>
Engine
>>
System Specifications
>>
Thread Repair Specifications
Manuals through 2025 now available!
Our trusted friends have launched a new website named LEMON, which has newer manuals. It also contains all the CHARM manuals.
LEMON is the spiritual successor to CHARM, I recommend you try it!
Link:
lemon-manuals.la
or
lemon-manuals.org.ua
(Some people have issue connecting. LEMON is investigating. For now, use Firefox or change your DNS server)
Or, hide this message:
temporarily
or
permanently
Thread Repair Specifications
Thread Repair Specifications
Engine Block - Front/Rear Views
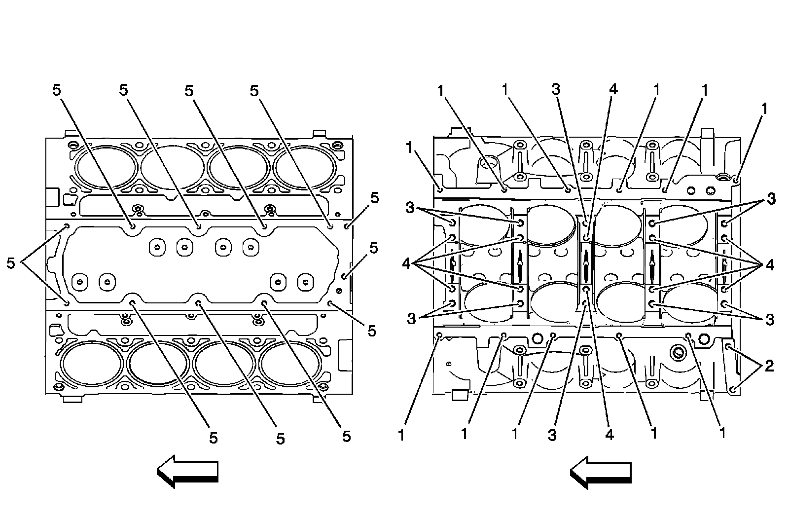
Engine Block - Left/Right Side Views
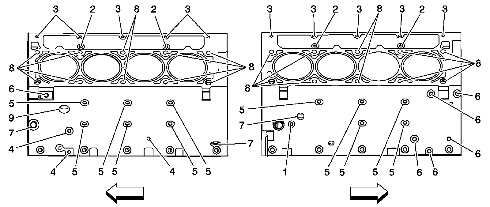
Engine Block - Top/Bottom Views
Cylinder Head - Top/End Views
Cylinder Head - Intake/Exhaust Side Views