Operation CHARM: Car repair manuals for everyone.
Manuals through 2025 now available!

Our trusted friends have launched a new website named LEMON, which has newer manuals. It also contains all the CHARM manuals.

LEMON is the spiritual successor to CHARM, I recommend you try it!

Link: lemon-manuals.la or lemon-manuals.org.ua

(Some people have issue connecting. LEMON is investigating. For now, use Firefox or change your DNS server)

Or, hide this message: temporarily or permanently

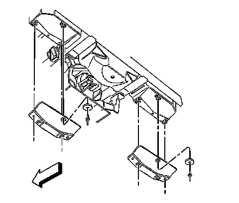
Heat Shield: Service and Repair




Exhaust Muffler Heat Shield Replacement

Removal Procedure




1. Remove the left or right muffler. Refer to Exhaust Muffler Replacement - Left Side (Service and Repair) or Exhaust Muffler Replacement - Right Side (Service and Repair).
2. Drill out the left or right muffler heat shield rivets.
3. Remove the left or right heat shield washers and shield.

Installation Procedure




1. Install the left or right heat shield and washers.
2. Install new left or right heat shield rivets.
3. Install the left or right muffler. Refer to Exhaust Muffler Replacement - Left Side (Service and Repair) or Exhaust Muffler Replacement - Right Side (Service and Repair).