Operation CHARM: Car repair manuals for everyone.
Manuals through 2025 now available!

Our trusted friends have launched a new website named LEMON, which has newer manuals. It also contains all the CHARM manuals.

LEMON is the spiritual successor to CHARM, I recommend you try it!

Link: lemon-manuals.la or lemon-manuals.org.ua

(Some people have issue connecting. LEMON is investigating. For now, use Firefox or change your DNS server)

Or, hide this message: temporarily or permanently

Overhaul




Differential Overhaul

Disassemble Procedure

1. Remove the differential side bearings. Refer to Differential Side Bearings Replacement (Service and Repair).





Note: The ring gear bolts on the 8.6 and 9.5 inch axles have left-hand threads. The ring gear bolts on the 9.75, 10.5 and 10.75 inch axles have right-hand threads

2. Remove the gear bolts. Discard the bolts.





Caution: Refer to Ring Gear Removal Caution (Ring Gear Removal Caution).

3. Using a brass drift and a hammer, remove the ring gear from the differential case.




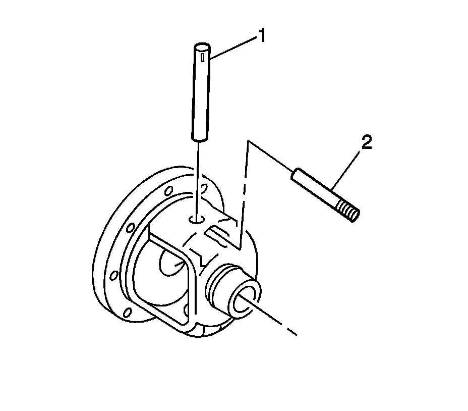
4. For the 8.6, 9.5 and 9.75 inch axle, remove the differential pinion gear shaft bolt (2) and the pinion gear shaft (1).




5. For the 10.5 and the 10.75 in axle, use a hammer and the appropriate size drift pin, remove the differential pinion gear shaft pin (2) and the differential pinion gear shaft (1).





Note: Mark the top and bottom pinion gears.

6. Remove the pinion gears (2) and thrust washers (1) by rolling the pinion gears in the differential case (3).

Note: Mark the left and right pinion gear sand thrust washers.

7. Remove the differential side gears (5) and thrust washers (4) from the differential case (3).

Assemble Procedure

1. Lubricant the pinion and side gears with the proper fluid. Refer to Adhesives, Fluids, Lubricants, and Sealers (Fluid Type Specifications).





Note: If the same differential side gears and the thrust washers are to be reused, install the gears and thrust washers in their original locations.

2. Install the differential side gears (5) and the thrust washers (4) in the differential case (3).
3. Install the differential pinion gears and pinion gear thrust washers by performing the following steps:

1. Position one pinion gear (2) between the differential side gears (5).
2. Position the second pinion gear (2) between the differential side gears (5) directly opposite the of the first gear.
3. Rotate the differential side gears (5) until the pinion gears is directly opposite the opening in the differential case (3).
4. Rotate the pinion gears (2) toward the differential opening to allow the installation the thrust washers (1).

4. Rotate the pinion gears toward the opening in the differential case to allow the installation of the pinion gear shaft.





Caution: Refer to Fastener Caution (Fastener Caution).

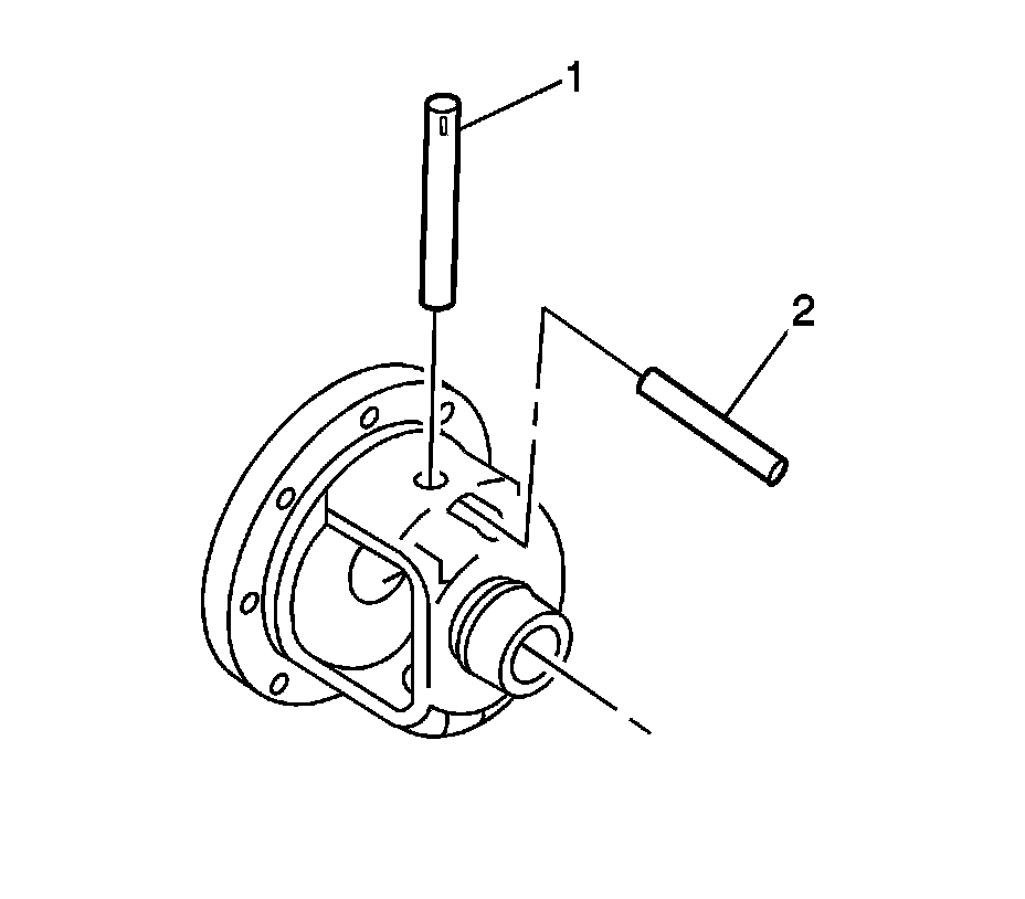
5. Install the pinion gear shaft (1) for the 8.6, 9.5 and the 9.75 inch axles.
6. Install differential pinion gear shaft bolt (2) into the pinion gear shaft (1) and tighten to bolt to:

* For the 8.6 inch axle tighten the bolt to 36 Nm (27 lb ft).
* For the 9.5 inch axle tighten the bolt to 50 Nm (37 lb ft).
* For the 9.75 inch axle tighten the bolt to 27 Nm (20 lb ft).




7. For the 10.5 and 10.75 inch axle, install the differential pinion gear shaft (1).
8. Using a hammer and the proper size drift pin, install the NEW differential pinion gear shaft pin (2).





Note: The mating surface of the ring gear and the differential case must be clean and free of burrs before installing the ring gear.

9. Install the ring gear to the differential case.





Note: The ring gear bolts on the 8.6 inch axle have left-hand threads. The ring gear bolts on the 9.75, 10.5 and 10.75 inch axles have right-hand threads

Note: Hand start each bolt to ensure that the ring gear is properly installed to the differential case.

10. Install the new ring gear bolts and tighten the bolts to:

* For the 8.6 inch axle, tighten the ring gear bolts in sequence to 120 Nm (89 lb ft).
* For the 9.75, 10.5 and 10.75 inch axles, tighten the ring gear bolts in sequence to 177 Nm (131 lb ft).

11. Install the differential side bearings. Refer to Differential Side Bearings Replacement (Service and Repair).