Operation CHARM: Car repair manuals for everyone.
Manuals through 2025 now available!

Our trusted friends have launched a new website named LEMON, which has newer manuals. It also contains all the CHARM manuals.

LEMON is the spiritual successor to CHARM, I recommend you try it!

Link: lemon-manuals.la or lemon-manuals.org.ua

(Some people have issue connecting. LEMON is investigating. For now, use Firefox or change your DNS server)

Or, hide this message: temporarily or permanently

Timing Cover: Service and Repair




Engine Front Cover Replacement

Special Tools

J 37228 Seal Cutter

Removal Procedure

1. Remove the thermostat bypass pipe. Refer to Thermostat Bypass Pipes Replacement (Service and Repair).
2. Remove the turbocharger coolant hoses/pipes - outlet. Refer to Turbocharger Coolant Hoses/Pipes Replacement (Inlet) (Turbocharger Coolant Hoses/Pipes Replacement (Inlet))Turbocharger Coolant Hoses/Pipes Replacement (Outlet) (Turbocharger Coolant Hoses/Pipes Replacement (Outlet)).
3. Remove the upper oil pan. Refer to Upper Oil Pan Replacement (Upper Oil Pan Replacement).
4. Remove the cooling fan pulley. Refer to Cooling Fan Pulley Removal ().
5. Remove the water pump. Refer to Water Pump Replacement (LU3) (Service and Repair)Water Pump Replacement (LMF/LY2) (Service and Repair)Water Pump Replacement (LMM) (Service and Repair)Water Pump Replacement (LY6) (Service and Repair).
6. Remove the crankshaft balancer. Refer to Crankshaft Balancer Removal (Service and Repair).
7. Remove the engine oil fill tube bolts.
8. Remove the engine oil fill tube.




9. Remove the crankshaft position sensor bolt.
10. Remove the crankshaft position sensor.




11. Remove the engine front cover bolts.
12. Separate the engine front cover from the cylinder block using J 37228 .
13. Remove the engine front cover.

Installation Procedure




1. Install the relief valve O-ring to the engine front cover.
2. Lubricate the O-ring with engine oil.




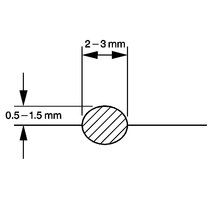
3. Apply a 2-3 mm wide and 0.5-1.5 mm high bead of sealant to the mating surfaces of the engine front cover. Refer to Adhesives, Fluids, Lubricants, and Sealers (Specifications) for the correct part number.




4. Install the engine front cover.

Caution: Refer to Fastener Caution (Fastener Caution).

5. Install the engine front cover bolts and tighten to 25 Nm (18 lb ft).




6. Install a new O-ring to the crankshaft position sensor spacer.
7. Lubricate the O-ring with engine oil.
8. Install the crankshaft position sensor spacer.
9. Install the crankshaft position sensor spacer bolts and tighten to 10 Nm (89 lb in).
10. Install a new O-ring to the crankshaft position sensor.
11. Lubricate the O-ring with engine oil.
12. Install the crankshaft position sensor.
13. Install the crankshaft position sensor bolt and tighten to 10 Nm (89 lb in).
14. Install the engine oil fill tube. Refer to Oil Filler Tube Replacement (Oil Filler Tube Replacement).
15. Install the water pump. Refer to Water Pump Replacement (LU3) (Service and Repair)Water Pump Replacement (LMF/LY2) (Service and Repair)Water Pump Replacement (LMM) (Service and Repair)Water Pump Replacement (LY6) (Service and Repair).
16. Install the crankshaft balancer. Refer to Crankshaft Balancer Removal (Service and Repair).
17. Install the cooling fan pulley. Refer to Cooling Fan Pulley Installation ().
18. Install the upper oil pan. Refer to Upper Oil Pan Replacement (Upper Oil Pan Replacement).
19. Install the turbocharger coolant hoses/pipes - outlet. Refer to Turbocharger Coolant Hoses/Pipes Replacement (Inlet) (Turbocharger Coolant Hoses/Pipes Replacement (Inlet))Turbocharger Coolant Hoses/Pipes Replacement (Outlet) (Turbocharger Coolant Hoses/Pipes Replacement (Outlet)).
20. Install the thermostat bypass pipe. Refer to Thermostat Bypass Pipes Replacement (Service and Repair).