Operation CHARM: Car repair manuals for everyone.
Manuals through 2025 now available!

Our trusted friends have launched a new website named LEMON, which has newer manuals. It also contains all the CHARM manuals.

LEMON is the spiritual successor to CHARM, I recommend you try it!

Link: lemon-manuals.la or lemon-manuals.org.ua

(Some people have issue connecting. LEMON is investigating. For now, use Firefox or change your DNS server)

Or, hide this message: temporarily or permanently

Front Disc Brake Hardware Replacement




Front Disc Brake Hardware Replacement

Removal Procedure
Warning: Refer to Brake Dust Warning (Brake Dust Warning).

Caution: Support the brake caliper with heavy mechanic wire, or equivalent, whenever it is separated from its mount and the hydraulic flexible brake hose is still connected. Failure to support the caliper in this manner will cause the flexible brake hose to bear the weight of the caliper, which may cause damage to the brake hose and in turn may cause a brake fluid leak.




1. Remove the brake caliper from the mounting bracket and support the brake caliper (2) with heavy mechanic's wire (1), or equivalent. Discard the old caliper pin bolts, new bolts are supplied in the hardware kit. It is not necessary to disconnect the hydraulic brake flexible hose from the caliper. Refer to Front Brake Caliper Replacement (Front Brake Caliper Replacement).




2. Remove the brake pads (2) from the brake caliper bracket.
3. Remove the brake pad retainers (1) from the brake caliper bracket.




4. Remove the brake caliper bracket. Refer to Front Brake Caliper Bracket Replacement (Front Brake Caliper Bracket Replacement).
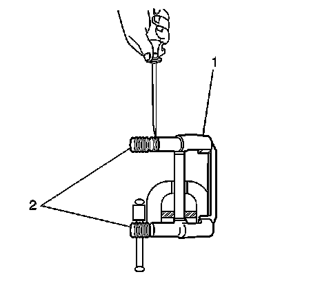
5. Mount the brake caliper bracket (1) in a vise.
6. Using a flat bladed tool or punch carefully remove the caliper pin boots (2) from brake caliper bracket (1).

Important:
* Clean the caliper bracket with denatured alcohol.
* Dry with low pressure, non-lubricated, filtered air.
* Inspect the brake caliper bracket for damage. If damaged, replace the bracket.

7. Thoroughly clean the caliper bracket bores of all lubricant.

Installation Procedure




1. Lubricate the bores (3), the inside part of the bolt boot (2) and the caliper pin bolts (4) with GM P/N 18047666, or equivalent.
2. Press the new caliper pin bolt boots into the caliper pin bores.
3. Install the brake caliper bracket. Refer to Front Brake Caliper Bracket Replacement (Front Brake Caliper Bracket Replacement).




4. Install the brake pad retainers (1) to the caliper bracket.
5. Install the brake pads (2) to the caliper bracket.




6. Remove the heavy mechanics wire (1) and install the brake caliper. Refer to Front Brake Caliper Replacement (Front Brake Caliper Replacement).