Operation CHARM: Car repair manuals for everyone.
Manuals through 2025 now available!

Our trusted friends have launched a new website named LEMON, which has newer manuals. It also contains all the CHARM manuals.

LEMON is the spiritual successor to CHARM, I recommend you try it!

Link: lemon-manuals.la or lemon-manuals.org.ua

(Some people have issue connecting. LEMON is investigating. For now, use Firefox or change your DNS server)

Or, hide this message: temporarily or permanently

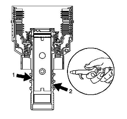
Input and 3rd Clutch Functional Air Check




Input and 3rd Clutch Functional Air Check





Caution: Do not exceed the recommended amount of air pressure or it may damage or cause seals to roll.

1. Use a rubber tipped air nozzle in order to apply a maximum 138 kPa (20 psi) at each indicated fluid passage.
2. Listen for the following:

* The third clutch (1) assembly to apply
* The input clutch (2) assembly to apply