Operation CHARM: Car repair manuals for everyone.
Manuals through 2025 now available!

Our trusted friends have launched a new website named LEMON, which has newer manuals. It also contains all the CHARM manuals.

LEMON is the spiritual successor to CHARM, I recommend you try it!

Link: lemon-manuals.la or lemon-manuals.org.ua

(Some people have issue connecting. LEMON is investigating. For now, use Firefox or change your DNS server)

Or, hide this message: temporarily or permanently

Communication Interface Module Bracket Replacement




Communication Interface Module Bracket Replacement

Removal Procedure

1. Remove the right rear seat cushion. Refer to Rear Seat Cushion Replacement (Rear Seat Cushion Replacement).
2. Remove the communication interface module. Refer to Communication Interface Module Replacement (TrailBlazer, Envoy) (Communication Interface Module Replacement).




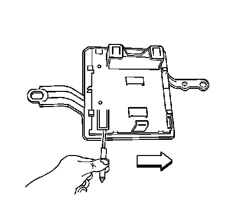
3. Using a flat-bladed tool, release the retaining tab on the upper bracket.
4. Slide the upper bracket inboard until the retaining tabs are released from the processor bracket.
5. Remove the upper bracket from the processor bracket.




6. Remove the nut that retains the processor bracket to the rear seat back stud.
7. Remove the processor bracket from the vehicle.

Installation Procedure




1. Install the processor bracket to the rear seat studs.

Caution: Refer to Fastener Caution (Fastener Caution).

2. Install the nut to the rear seat back stud.

Tighten the nut to 45 Nm (33 lb ft).




3. Position the upper bracket to the processor bracket.
4. Slide the upper bracket outboard until all the retaining tabs are seated to the processor bracket.
5. Install the communication interface module. Refer to Communication Interface Module Replacement (TrailBlazer, Envoy) (Communication Interface Module Replacement).
6. Install the right rear seat cushion. Refer to Rear Seat Cushion Replacement (Rear Seat Cushion Replacement).